授权公布号:CN212241426U
一种家具生产用板材冷压机
有效
申请
2019-11-22
申请公布
1970-01-01
授权
2020-12-29
预估到期
2029-11-22
| 申请号 | CN201922036227.2 |
| 申请日 | 2019-11-22 |
| 授权公布号 | CN212241426U |
| 授权公告日 | 2020-12-29 |
| 分类号 | B27D3/00 |
| 分类 | 木材或类似材料的加工或保存;一般钉钉机或钉U形钉机; |
| 申请人名称 | 北京世纪京洲家具有限责任公司 |
| 申请人地址 | 北京市大兴区生物医药产业基地天华街6号 |
专利法律状态
2020-12-29
授权
状态信息
授权
摘要
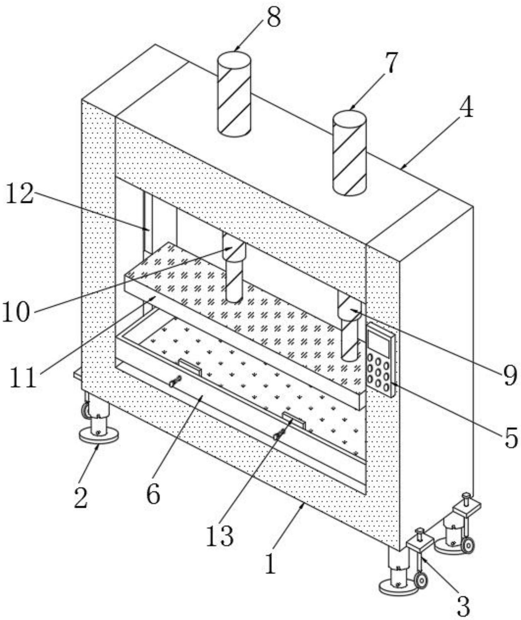
一种家具生产用板材冷压机,涉及家具生产技术领域,包括机架,所述机架的下表面设置有支撑腿,且机架的底部两侧位置处均设置有移动组件,所述机架的顶部固定安装有横梁,且机架的前侧安装有控制面板,所述机架的内部设置有放置槽,所述横梁的顶端安装有第一伸缩气缸。本实用新型结构简单,科学合理,通过设置的支撑腿能够进行板材冷压机的高度调节,为操作人员提供便利,通过设置的减震弹簧能够达到一定的减震效果,提高该冷压机工作过程中的稳定性,通过设置的移动组件便于用户进行板材冷压机的移动工作,节省人力,通过设置的固定组件能够对板材进行固定,防止板材冷压过程中出现位移的现象,提高板材冷压效果。


