授权公布号:CN211640246U
一种家具生产用自动定位的钻孔机
有效
申请
2019-11-25
申请公布
1970-01-01
授权
2020-10-09
预估到期
2029-11-25
| 申请号 | CN201922050491.1 |
| 申请日 | 2019-11-25 |
| 授权公布号 | CN211640246U |
| 授权公告日 | 2020-10-09 |
| 分类号 | B27C3/02;B27G23/00 |
| 分类 | 木材或类似材料的加工或保存;一般钉钉机或钉U形钉机; |
| 申请人名称 | 北京世纪京洲家具有限责任公司 |
| 申请人地址 | 北京市大兴区生物医药产业基地天华街6号 |
专利法律状态
2020-10-09
授权
状态信息
授权
摘要
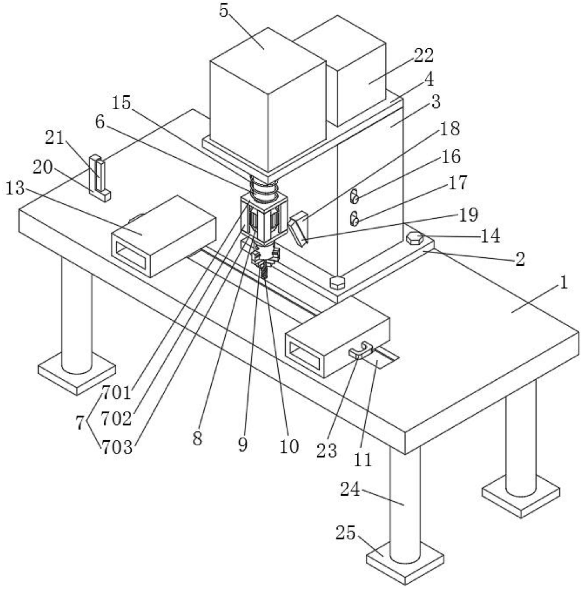
本实用新型公开了一种家具生产用自动定位的钻孔机,涉及钻孔机技术领域,包括工作台,所述工作台的上表面设置有底座,所述底座的上表面焊接有支撑柱,所述支撑柱的顶部焊接有支撑板,所述支撑板的上表面焊接有液压缸,所述液压缸的底部设置有推杆,所述推杆的一端焊接有连接架,所述连接架的内部固定连接有电机,所述电机的一侧通过转轴焊接有三爪卡盘,所述三爪卡盘的内部卡接有钻头,所述工作台的上表面通过T形滑槽的滑动设置有两T形滑块,两个所述T形滑块的顶部均焊接有支撑座。该家具生产用自动定位的钻孔机,通过T形滑块的设置,工作人员可以调节两个支撑座之间的距离,使得该装置可以适用于长度不同的木板。


