授权公布号:CN209944215U
一种前照灯光源组件、散热机构、变光机构、前照灯
有效
申请
2019-07-26
申请公布
1970-01-01
授权
2020-01-14
预估到期
2029-07-26
| 申请号 | CN201921192077.8 |
| 申请日 | 2019-07-26 |
| 授权公布号 | CN209944215U |
| 授权公告日 | 2020-01-14 |
| 分类号 | F21S41/25;F21V5/04;F21V7/04;F21V17/10;F21V29/67;F21V29/83;F21W102/13;F21Y115/10 |
| 分类 | 照明; |
| 申请人名称 | 重庆天华照明有限公司 |
| 申请人地址 | 重庆市涪陵区龙水路2号 |
专利法律状态
2020-01-14
授权
状态信息
授权
摘要
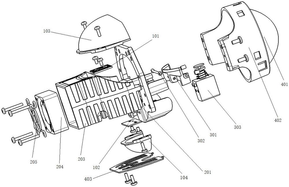
本实用新型提供了一种前照灯光源组件、散热机构、变光机构、前照灯,主要包括错位安装的第一光源和第二光源,所述第一光源和第二光源分别由一反光碗罩住,用以将第一光源和第二光源发射的光线反射后经过透射镜输出,所述反光碗内侧具有自由曲面,所述第一光源经由反光碗发射后,当开启近光时,透射镜透射后输出“梯形一边向上凸起状”的光型,当开启远光时,透射镜透射后输出“梯形中间向上凸起状”的光型,所述第二光源经由反光碗反射后,透射镜透射后输出底端呈倒置梯形,顶部呈半椭圆形的光型。本实用新型采用单个LED光源实现近光,以致于近光截止线清楚,输出光型无双眼皮现象。


