授权公布号:CN217131152U
一种景观照明用增亮散热式LED模组灯
有效
申请
2022-04-26
申请公布
1970-01-01
授权
2022-08-05
预估到期
2032-04-26
| 申请号 | CN202221037297.5 |
| 申请日 | 2022-04-26 |
| 授权公布号 | CN217131152U |
| 授权公告日 | 2022-08-05 |
| 分类号 | F21V5/08;F21V7/00;F21V29/60;F21V29/83;F21V29/89;F21V29/70;F21Y115/10N |
| 分类 | 照明; |
| 申请人名称 | 重庆天华照明有限公司 |
| 申请人地址 | 重庆市涪陵区龙水路2号 |
专利法律状态
2022-08-05
授权
状态信息
授权
摘要
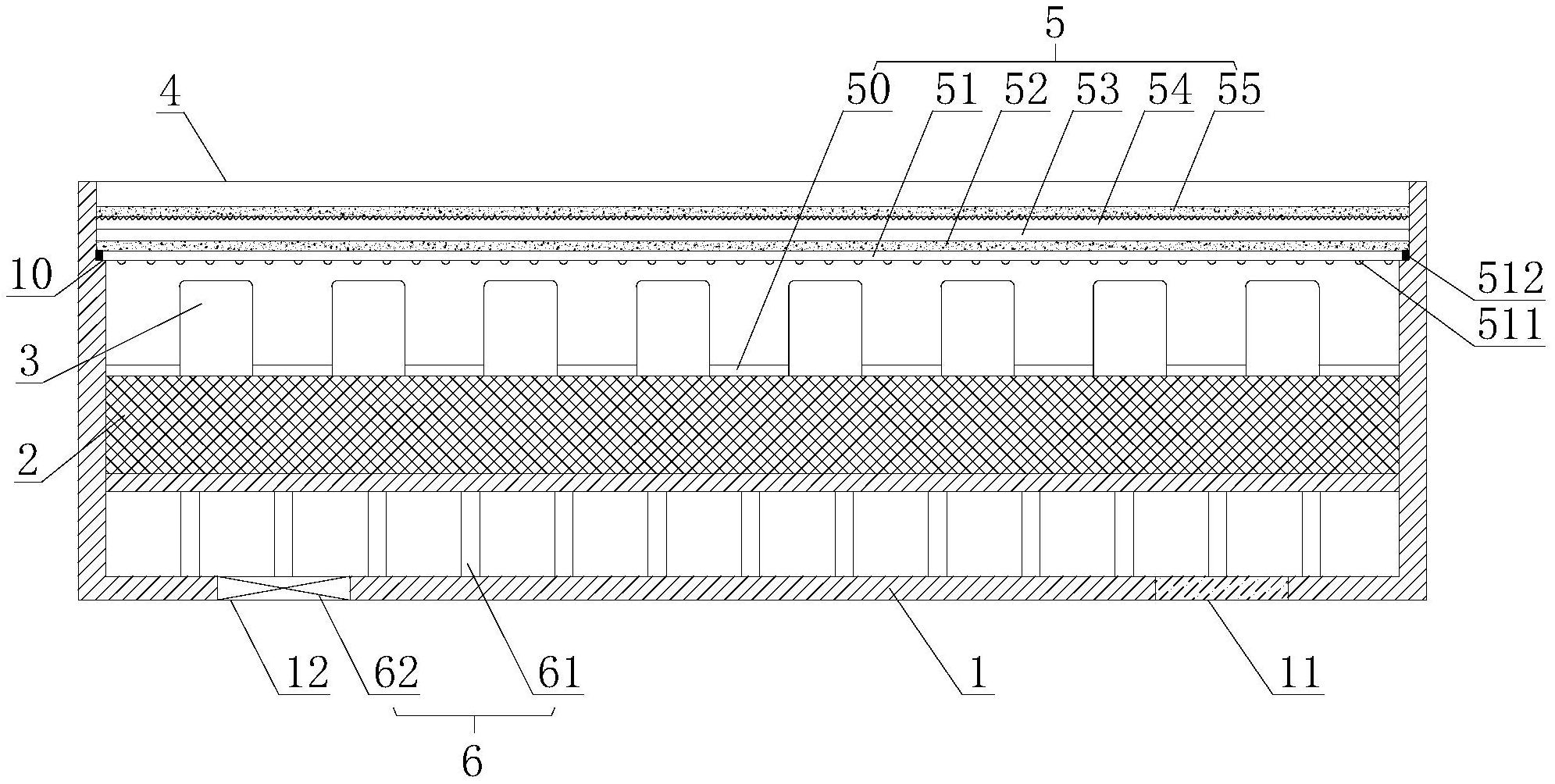
本实用新型提供一种景观照明用增亮散热式LED模组灯,包括固定安装有灯珠控制板的灯壳,灯珠控制板上电性连接有灯珠,灯壳面部固定有面盖,灯壳内部设有光线散汇处理机构和散热机构,光线散汇处理机构包括设在灯壳内壁并位于灯珠上方的光散射板,光散射板表面顺序层叠有下扩散片、下增光膜、上增光膜和上扩散片,光散射板底面布设有透明凸点,下增光膜和上增光膜表面设有凸锥条,且上下增光膜上的凸锥条相互垂直配合,散热机构包括金属导热柱和散热风机,金属导热柱设置在灯壳内部下方预设空腔内,灯壳底部开设有散热进风口和散热出风口,散热风机嵌置安装在散热出风口处。本申请能增强LED模组灯射出的整体光线亮度及散热性能,提高使用寿命。


