授权公布号:CN217479772U
一种针刺提花无纺布制备用自动提花装置
有效
申请
2022-01-10
申请公布
1970-01-01
授权
2022-09-23
预估到期
2032-01-10
| 申请号 | CN202220051824.1 |
| 申请日 | 2022-01-10 |
| 授权公布号 | CN217479772U |
| 授权公告日 | 2022-09-23 |
| 分类号 | D06C23/00 |
| 分类 | 织物等的处理;洗涤;其他类不包括的柔性材料; |
| 申请人名称 | 福建长庚新材料股份有限公司 |
| 申请人地址 | 福建省南平市江南工业园祥瑞路8号 |
专利法律状态
2022-09-23
授权
状态信息
授权
摘要
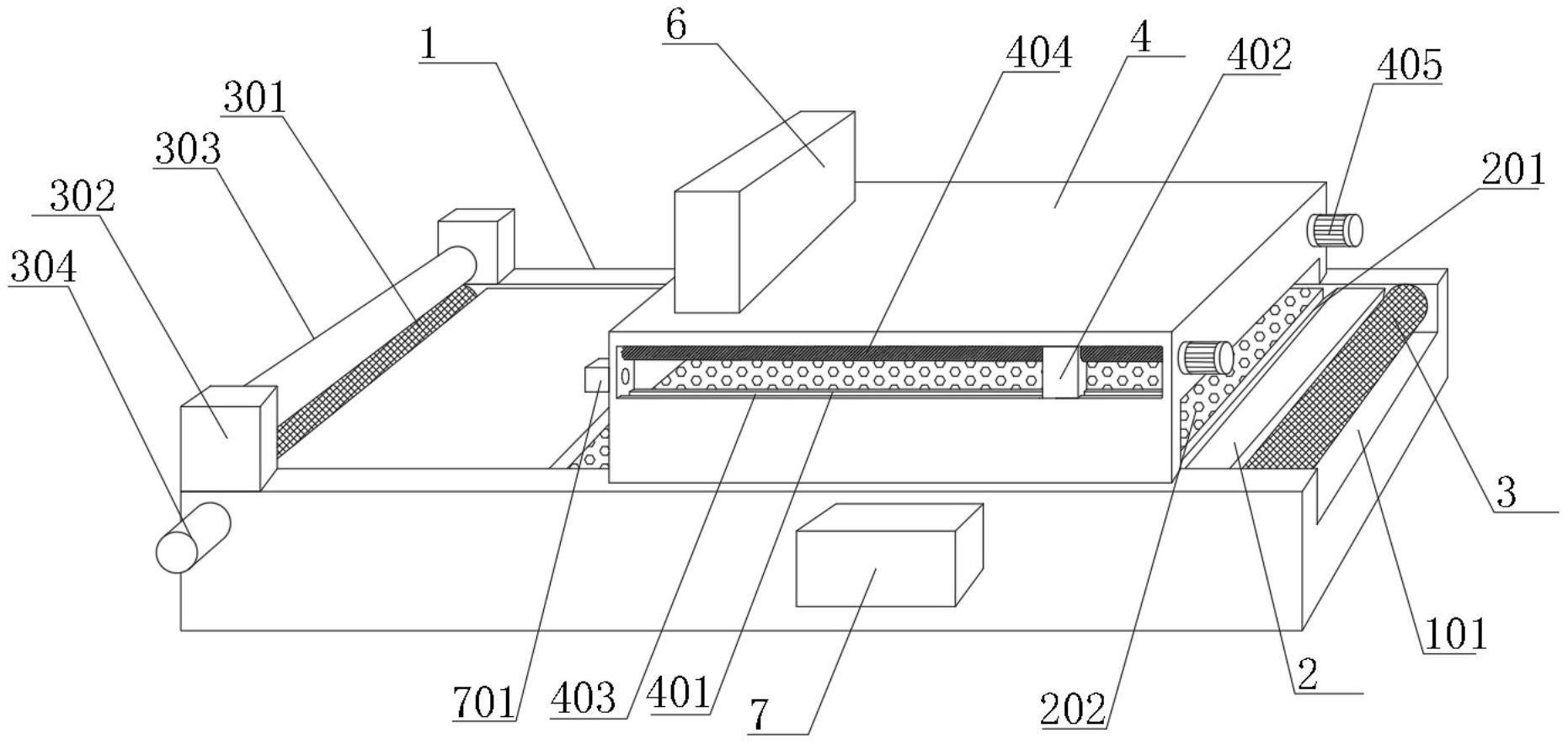
本实用新型涉及无纺布加工技术领域,尤其为一种针刺提花无纺布制备用自动提花装置,包括机架和提花机构,提花机构包括设置在传送槽顶部机架上的提花架。本实用新型中,通过在机架两端分别设置进料辊和出料辊,其中,进料辊和出料辊表面均设置了齿钉状的橡胶防滑颗粒,出料辊上方设置的挤压辊与出料辊形成对无纺布挤压的传送,在出料辊转动过程中,进料辊与无纺布之间产生的摩擦力可使无纺布撑平,设置的针刺装置对无纺布进行针刺提花,待无纺布一段针刺完成后,利用出料辊对无纺布进行拖拽,将没有进行针刺提花的无纺布拖入提花网板上方,后控制针刺装置进行提花,该设备,可对长无纺布进行连续性针刺提花,设备运行智能,适宜推广使用。


