授权公布号:CN216281837U
一种精准控湿系统
有效
申请
2021-09-29
申请公布
1970-01-01
授权
2022-04-12
预估到期
2031-09-29
| 申请号 | CN202122390450.4 |
| 申请日 | 2021-09-29 |
| 授权公布号 | CN216281837U |
| 授权公告日 | 2022-04-12 |
| 分类号 | F24F6/10;F24F11/64;F24F11/65;F24F11/72;F24F110/20N;F24F140/20N |
| 分类 | 供热;炉灶;通风; |
| 申请人名称 | 深圳市美晶科技有限公司 |
| 申请人地址 | 广东省深圳市龙华新区龙华街道梅龙大道194号卫东龙商务大厦B座407室 |
专利法律状态
2022-04-12
授权
状态信息
授权
摘要
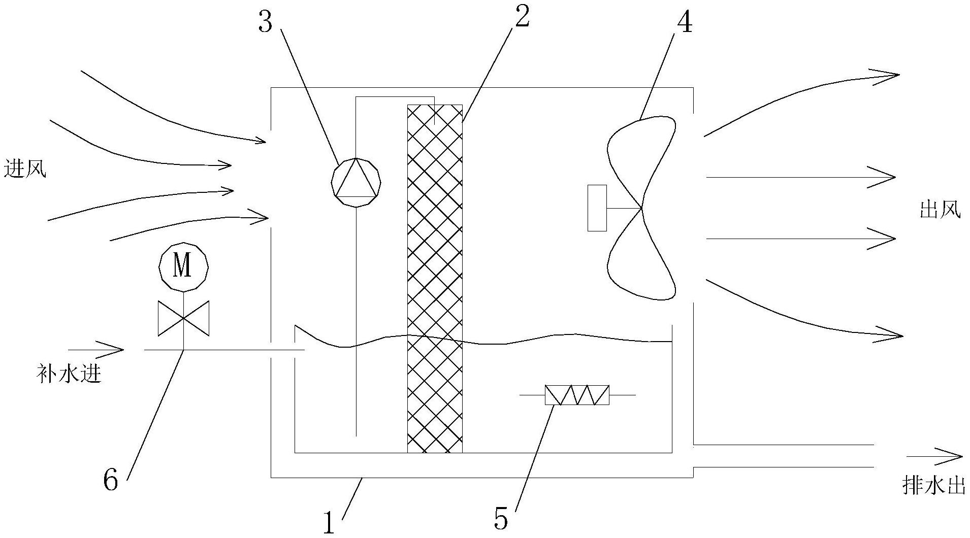
本申请公开了一种精准控湿系统,包括:至少两个加湿系统、分别连接每个所述加湿系统的控制器、与所述控制器连接的湿度传感器;每个所述加湿系统包括:加湿水箱、设置在加湿水箱内的湿膜、将水输送至湿膜的加湿水泵、用于调节水温的加热器,加湿水箱回风口处设有与湿膜对接的加湿风机,所述加湿风机、所述加湿水泵和所述加热器分别连接至所述控制器。本精准控湿系统使每个加湿系统均形成具有多档加湿量的独立加湿系统,实现双系统或多系统控制的精准控湿,能够达到加湿精确的目的。


