授权公布号:CN213763978U
一种自动化去除压铸件的浇注系统渣包溢流槽的机构
有效
申请
2020-12-07
申请公布
1970-01-01
授权
2021-07-23
预估到期
2030-12-07
| 申请号 | CN202022896998.1 |
| 申请日 | 2020-12-07 |
| 授权公布号 | CN213763978U |
| 授权公告日 | 2021-07-23 |
| 分类号 | B22D31/00;B22D17/20 |
| 分类 | 铸造;粉末冶金; |
| 申请人名称 | 重庆建设·雅马哈摩托车有限公司 |
| 申请人地址 | 重庆市九龙坡区九龙园区B区华成路1号 |
专利法律状态
2021-07-23
授权
状态信息
授权
摘要
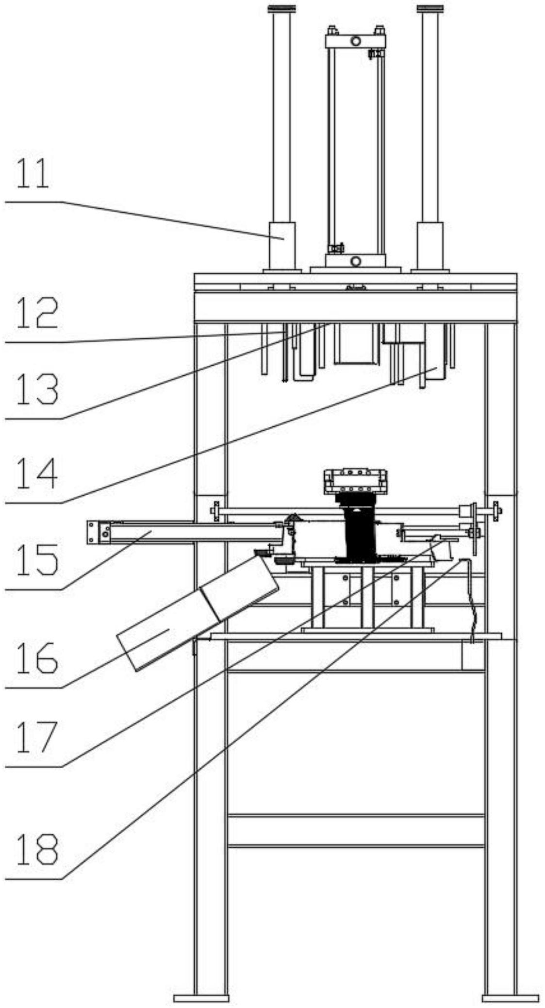
本实用新型公开了一种自动化去除压铸件的浇注系统渣包溢流槽的机构,包括主支架,所述主支架上设置有用于放置压铸件的下模板;所述主支架上固定安装有压紧气缸、折断气缸和清扫气缸,所述压紧气缸的可动轴竖向向下固定安装有上模板,所述上模板向下固定安装有折断渣包或溢流槽的第一顶杆或第一顶块;所述折断气缸的可动轴竖向向下固定安装有折断浇筑系统的第二顶杆或第二顶块;所述清扫气缸的可动轴水平设置且固定安装有清扫器,所述主支架一侧固定安装有溜件槽,所述溜件槽设置在所述下模板一侧。本实用新型具有能够降低劳动强度,提高效率和安全性能的优点。


