授权公布号:CN215970243U
榨油机
有效
申请
2021-09-07
申请公布
1970-01-01
授权
2022-03-08
预估到期
2031-09-07
| 申请号 | CN202122159582.6 |
| 申请日 | 2021-09-07 |
| 授权公布号 | CN215970243U |
| 授权公告日 | 2022-03-08 |
| 分类号 | B30B9/14;B30B15/30;B30B15/34;B30B15/00;C11B1/08 |
| 分类 | 压力机; |
| 申请人名称 | 深圳市香添有限公司 |
| 申请人地址 | 广东省深圳市龙岗区龙岗街道五联社区将军帽小区26号A栋301 |
专利法律状态
2022-03-08
授权
状态信息
授权
摘要
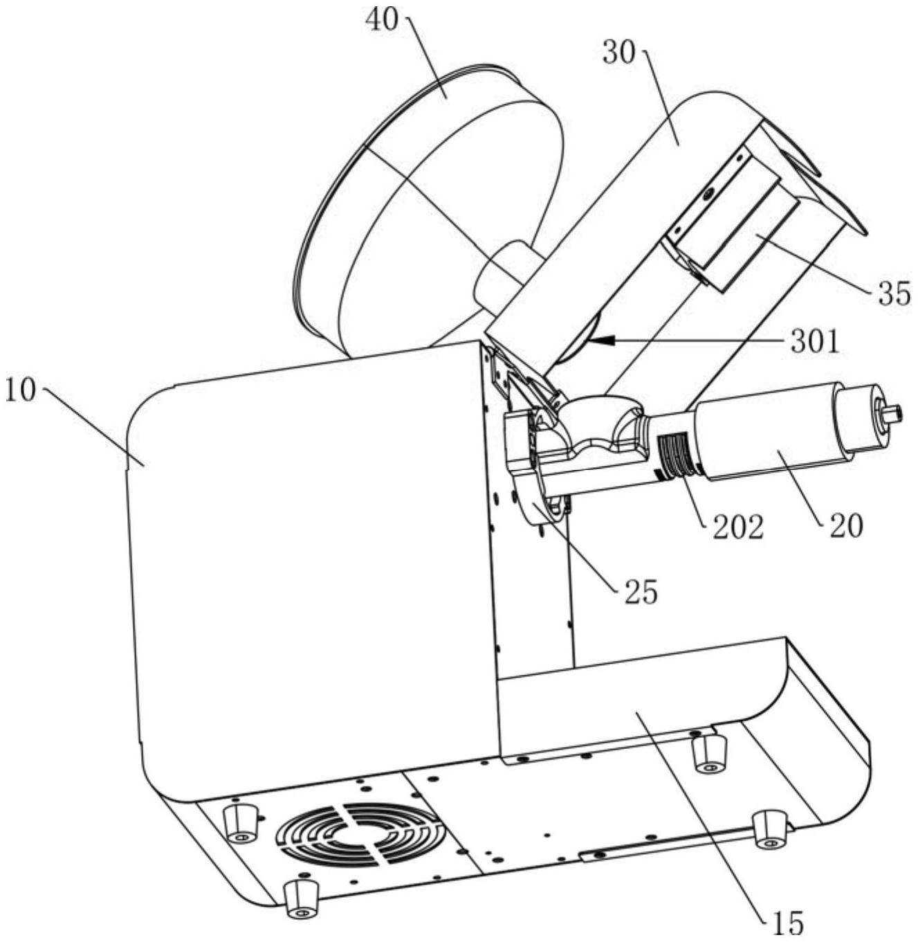
一种榨油机,包括机体、榨油组件和机盖,机体内设有电机和与电机的输出轴连接的减速机构,机体上设有卡环,榨油组件包括榨膛和榨杆,榨杆容置于榨膛内,榨膛与卡环卡接,榨杆与减速机构连接,减速机构的转轴外周套设有油封,机盖与机体转动连接,机盖上设有加热件,机盖相对机体转动以在第一位置和第二位置之间切换,在第二位置时,机盖盖设在榨油组件上,且加热件与榨膛紧贴。通过设置卡环,榨膛与卡环卡接,能方便安装和拆卸,便于对榨油组件进行清洗和维修,设置油封,能避免油脂污染机体或减速机构,设置机盖与机体转动连接,并设置加热件,在榨油组件清洗或维修时不会被遮挡,方便操作,在榨油时又能提高工作温度,提高出油率。


