授权公布号:CN219624263U
一种高效节能的容积式热水炉
有效
申请
2023-02-09
申请公布
1970-01-01
授权
2023-09-01
预估到期
2033-02-09
| 申请号 | CN202320170779.6 |
| 申请日 | 2023-02-09 |
| 授权公布号 | CN219624263U |
| 授权公告日 | 2023-09-01 |
| 分类号 | F24H9/1832;F23J15/06 |
| 分类 | 供热;炉灶;通风; |
| 申请人名称 | 上海欧特电器有限公司 |
| 申请人地址 | 上海市浦东新区御北路385号5幢209室 |
专利法律状态
2023-09-01
授权
状态信息
授权
摘要
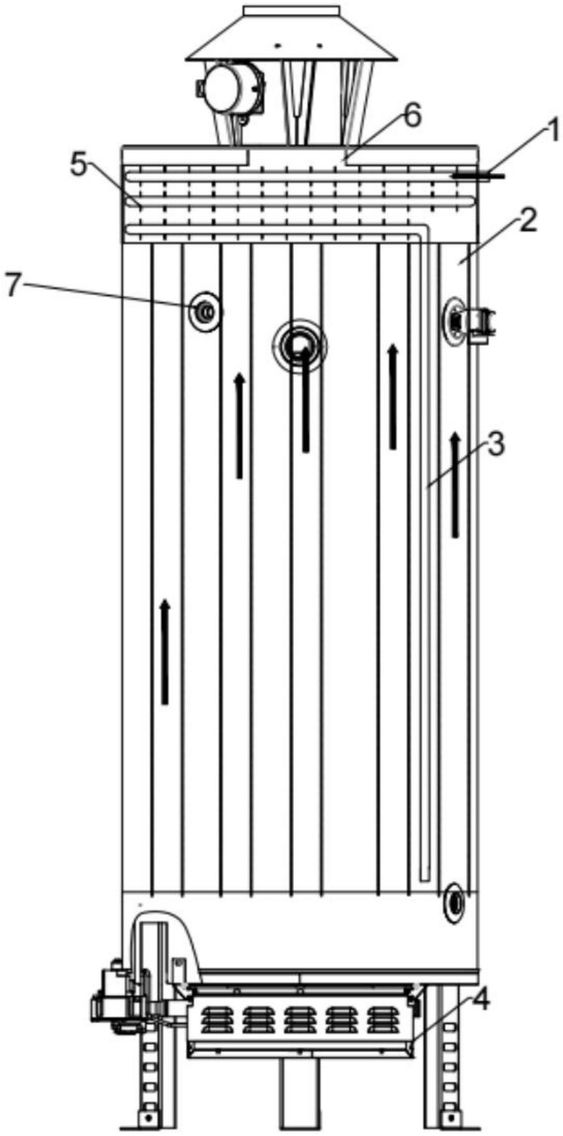
本实用新型属于热水炉技术领域,具体为一种高效节能的容积式热水炉,包括:水箱,所述水箱为中空且上下端开口的形状,所述水箱的下端开口处设置有底盖,在所述底盖上设置有换热烟管,所述换热烟管向下延伸至底盖的下侧,在所述水箱的外壁上侧设置有出水口;中间设置通孔的集烟罩,所述集烟罩设置在水箱的上端开口处;燃烧器,所述燃烧器位于水箱的,且燃烧器与换热烟管下端位置对应;翅片管,所述翅片管位于水箱,且翅片管位于集烟罩的下侧,所述翅片管的一端为进水口,进水口延伸至水箱的外侧,翅片管的另一端连接有下浸式进水管。燃烧器经过燃烧后会释放出高温烟气,高温烟气经过水箱内部烟管与冷水换热达到加热水箱水的效果。


