授权公布号:CN112148313B
一种在沙箱中同时运行多个同名应用的方法、介质和设备
有效
申请
2020-09-21
申请公布
2020-12-29
授权
2022-05-20
预估到期
2040-09-21
| 申请号 | CN202010993881.7 |
| 申请日 | 2020-09-21 |
| 申请公布号 | CN112148313A |
| 申请公布日 | 2020-12-29 |
| 授权公布号 | CN112148313B |
| 授权公告日 | 2022-05-20 |
| 分类号 | G06F8/61;G06F3/0482;G06F9/445 |
| 分类 | 计算;推算;计数; |
| 申请人名称 | 厦门芯鸽信息科技有限公司 |
| 申请人地址 | 福建省厦门市湖里区高新技术园钟岭路113号万华中心9009室 |
专利法律状态
2022-05-20
授权
状态信息
授权
2020-12-29
公布
状态信息
公布
摘要
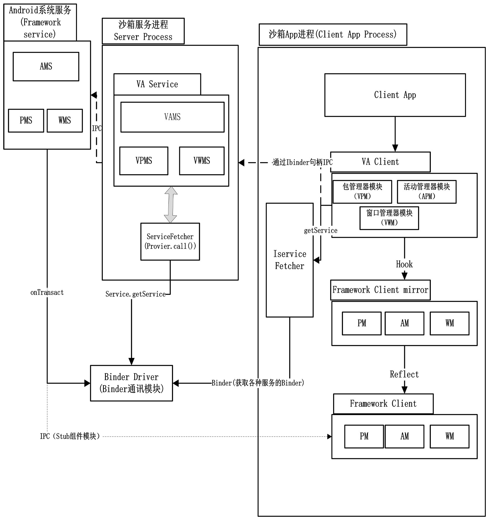
本发明一种在沙箱中同时运行多个同名应用的方法、存储介质和设备,在Android系统安装沙箱APP,该沙箱的系统架构包含包管理器模块、活动管理器模块、窗口管理器模块、Binder Driver通讯模块;为多个同名应用设置隔离的应用进程空间,从而实现同名应用的多开,用户不需要频繁退出和登录的操作就能同时操控和管理多个账户。


