授权公布号:CN105180273B
一种自动智能调节无耗材空气净化器
有效
申请
2015-08-27
申请公布
2015-12-23
授权
2018-10-12
预估到期
2035-08-27
| 申请号 | CN201510534038.1 |
| 申请日 | 2015-08-27 |
| 申请公布号 | CN105180273A |
| 申请公布日 | 2015-12-23 |
| 授权公布号 | CN105180273B |
| 授权公告日 | 2018-10-12 |
| 分类号 | F24F1/00;F24F11/89 |
| 分类 | 供热;炉灶;通风; |
| 申请人名称 | 友好净控科技(浙江)有限公司 |
| 申请人地址 | 浙江省杭州市拱墅区祥园路99号2号楼517室 |
专利法律状态
2018-10-12
授权
状态信息
授权
2017-04-12
著录事项变更
状态信息
著录事项变更;IPC(主分类):F24F1/00;变更事项:申请人;变更前:杭州钛合智造电器有限公司;变更后:友好净控科技(浙江)有限公司;变更事项:地址;变更前:310015 浙江省杭州市拱墅区祥园路99号2号楼517室;变更后:310015 浙江省杭州市拱墅区祥园路99号2号楼517室
2016-01-20
实质审查的生效
状态信息
实质审查的生效;IPC(主分类):F24F1/00;申请日:20150827
2015-12-23
公布
状态信息
公布
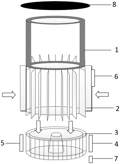
摘要
本发明涉及一种自动智能调节无耗材空气净化器。现在还没有一种无耗材的自动智能调节空气净化器装置。本发明包括催化剂填装网、空气检测传感器模块、屏幕模块和风机模块,其特征是:还包括静电除尘装置和顶盖,静电除尘装置包括静电除尘装置控制模块和数片竖直金属片,屏幕模块包括显示屏和安卓控制系统电路板,安卓控制系统电路板对空气检测传感器模块检测到的数据进行分析处理,将当前空气污染物数据转化为空气质量指标,通过静电除尘装置控制模块控制静电除尘装置的电压,调节除尘效率,通过控制风机驱动模块调节风机的风量,调节净化处理量,在环境空气质量较差时提高净化速率,在环境空气质量较好时降低净化速率。本发明无耗材。


