授权公布号:CN212877633U
一种支撑式紧身胸衣
有效
申请
2020-09-02
申请公布
1970-01-01
授权
2021-04-06
预估到期
2030-09-02
| 申请号 | CN202021894284.0 |
| 申请日 | 2020-09-02 |
| 授权公布号 | CN212877633U |
| 授权公告日 | 2021-04-06 |
| 分类号 | A41C3/00;A41C3/12 |
| 分类 | 服装; |
| 申请人名称 | 浙江剑利美针织服饰有限公司 |
| 申请人地址 | 浙江省金华市义乌市秋实路78号 |
专利法律状态
2021-04-06
授权
状态信息
授权
摘要
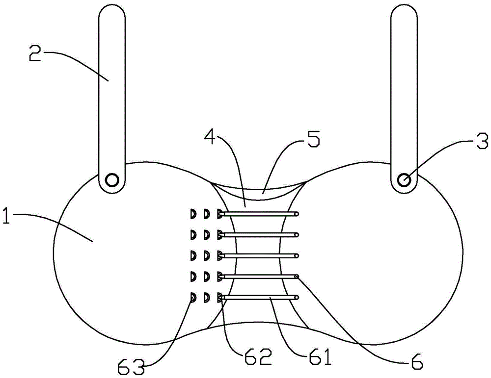
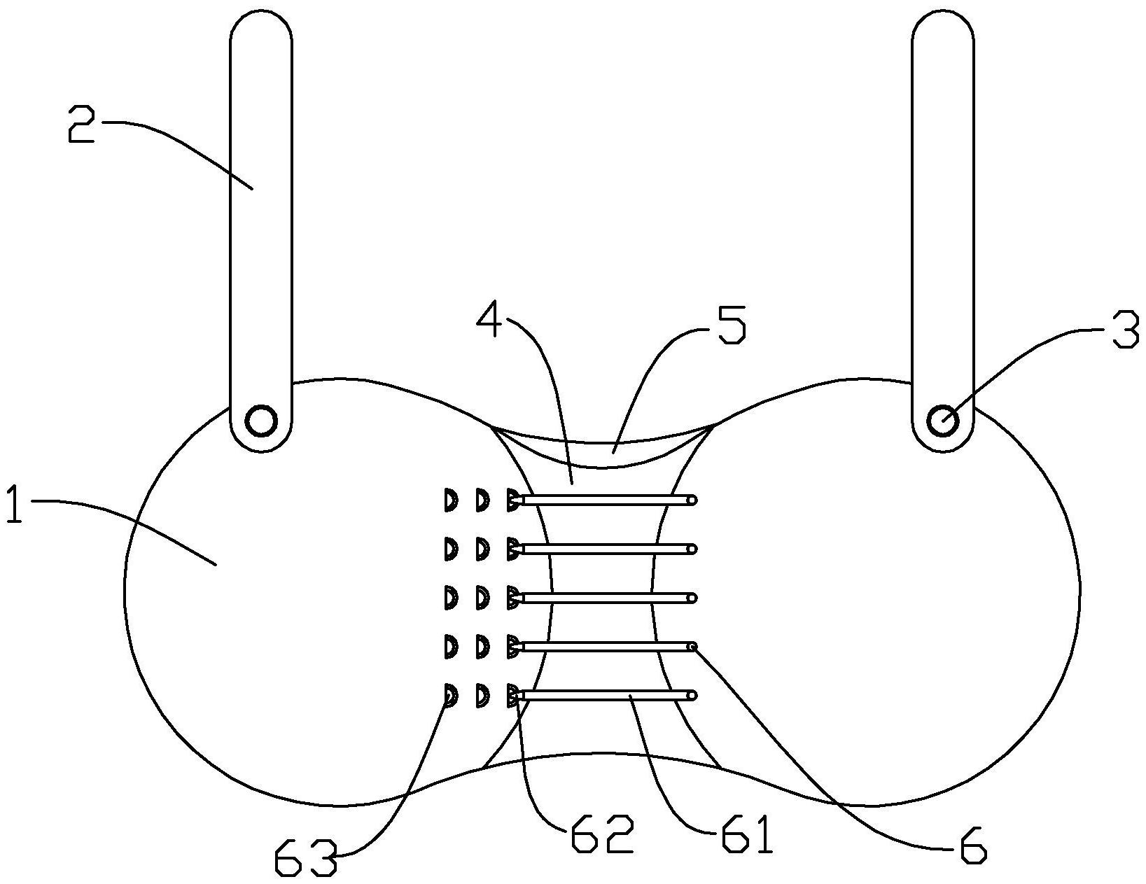
本实用新型涉及服装技术领域,尤其是一种支撑式紧身胸衣,包括两个胸衣罩体、两个肩带以及若干个固定扣,两个胸衣罩体之间为相对设置,两个肩带均分别通过固定扣固定连接在两个胸衣罩体上,两个胸衣罩体之间连接有弹性连接层,两个胸衣罩体的外表面之间连接有松紧调节机构,其中一个胸衣罩体的内表面上连接有内嵌层,内嵌层靠近胸衣罩体的一面连接有公魔术贴,另一个胸衣罩体的内表面上连接有母魔术贴,且母魔术贴与公魔术贴之间相互适配。该支撑式紧身胸衣能够根据各人的胸围大小调节其松紧程度,能够提高该紧身胸衣的穿着效果,实用性很强。


