授权公布号:CN216646997U
一种可旋转的骨传导蓝牙眼镜
有效
申请
2021-12-21
申请公布
1970-01-01
授权
2022-05-31
预估到期
2031-12-21
| 申请号 | CN202123228762.1 |
| 申请日 | 2021-12-21 |
| 授权公布号 | CN216646997U |
| 授权公告日 | 2022-05-31 |
| 分类号 | G02C11/00;G02C5/14 |
| 分类 | 光学; |
| 申请人名称 | 东莞市新耀电子实业有限公司 |
| 申请人地址 | 广东省东莞市东城街道峡口榴花西街 |
专利法律状态
2022-05-31
授权
状态信息
授权
摘要
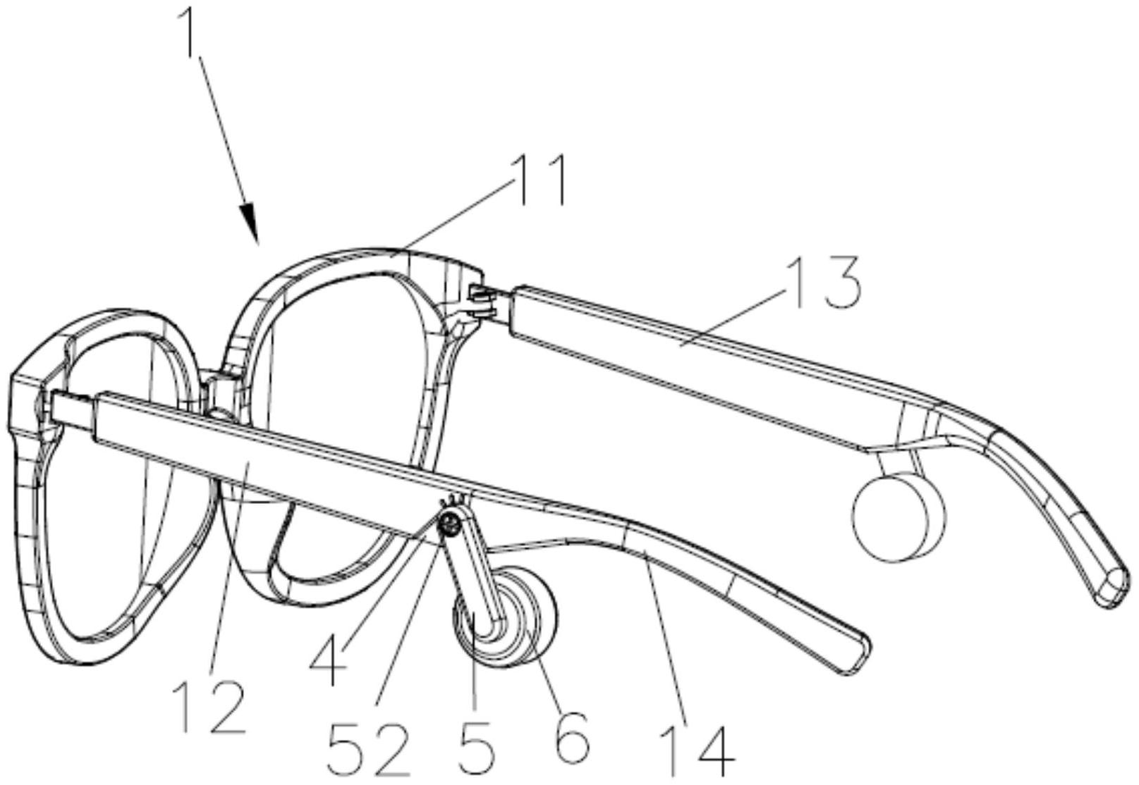
本实用新型涉蓝牙眼镜技术领域,公开了一种可旋转的骨传导蓝牙眼镜,包括眼镜主体,所述眼镜主体包括眼镜框,所述眼镜框两端分别铰接有第一眼镜腿和第二眼镜腿,所述第一眼镜腿和第二眼镜腿均设置有便于眼镜佩戴的钩部,第一眼镜腿和第二眼镜腿内部均设置有控制主板和驱动电池,控制主板与驱动电池电性连接,所述钩部前方设置有安装槽,所述安装槽中连接有可调节角度的延伸臂,所述延伸臂端部固定连接有骨传导壳体,骨传导壳体内部设置有骨传导装置;本实用新型具有如下优点:1.骨传导耳机部旋转设置,位置可调,适应不同人群使用,适用范围广;2.将眼镜与骨传导耳机相结合,既能减轻佩戴难度,又不受外部噪音影响;3.结构简洁,实用性高。


