授权公布号:CN218245716U
一种舒适型女士文胸
有效
申请
2022-09-28
申请公布
1970-01-01
授权
2023-01-10
预估到期
2032-09-28
| 申请号 | CN202222577876.5 |
| 申请日 | 2022-09-28 |
| 授权公布号 | CN218245716U |
| 授权公告日 | 2023-01-10 |
| 分类号 | A41C3/00;A41C3/12 |
| 分类 | 服装; |
| 申请人名称 | 浙江剑利美针织服饰有限公司 |
| 申请人地址 | 浙江省义乌市秋实路78号 |
专利法律状态
2023-01-10
授权
状态信息
授权
摘要
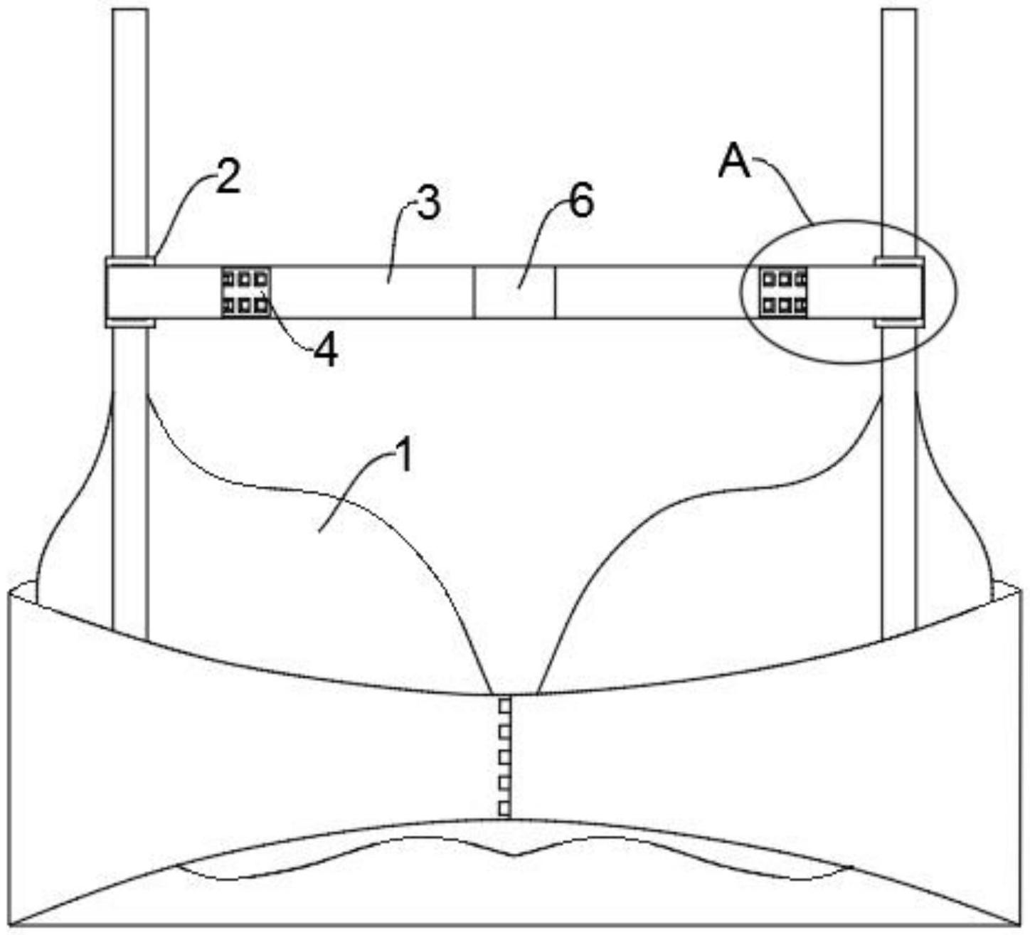
本实用新型涉及内衣技术领域,尤其是一种舒适型女士文胸,包括文胸和肩带防滑落机构,所述肩带防滑落机构设在所述文胸的两个肩带上,所述肩带防滑落机构包括两个限位环和肩带防滑落组件,所述文胸的两个肩带分别折叠插装在两个所述限位环中,所述肩带防滑落组件设在所述文胸的两个肩带和两个所述限位环上,所述肩带防滑落组件包括防脱带和两个排扣组件,所述防脱带两端分别穿过两个所述限位环和所述文胸的两个肩带之间,两个所述排扣组件均固定在所述防脱带上。本实用新型在使用时,能够避免文胸的两个肩带的滑落,进而为女性避免文胸的肩带滑落的尴尬。


