授权公布号:CN117559043B
一种温控组件及设有该温控组件的光伏储能电池组
有效
申请
2024-01-11
申请公布
2024-02-13
授权
2024-03-26
预估到期
2044-01-11
| 申请号 | CN202410043468.2 |
| 申请日 | 2024-01-11 |
| 申请公布号 | CN117559043A |
| 申请公布日 | 2024-02-13 |
| 授权公布号 | CN117559043B |
| 授权公告日 | 2024-03-26 |
| 分类号 | H01M10/63;H01M10/613;H01M10/637;H01M10/6556;H01M10/6568;H02S40/42;B08B1/40;B08B1/30;B08B1/14 |
| 分类 | 基本电气元件; |
| 申请人名称 | 深圳市电科电源股份有限公司 |
| 申请人地址 | 广东省深圳市龙岗区横岗街道大康社区新龙路37号A栋3楼、C、D栋 |
专利法律状态
2024-03-26
授权
状态信息
授权
2024-02-13
公布
状态信息
公布
摘要
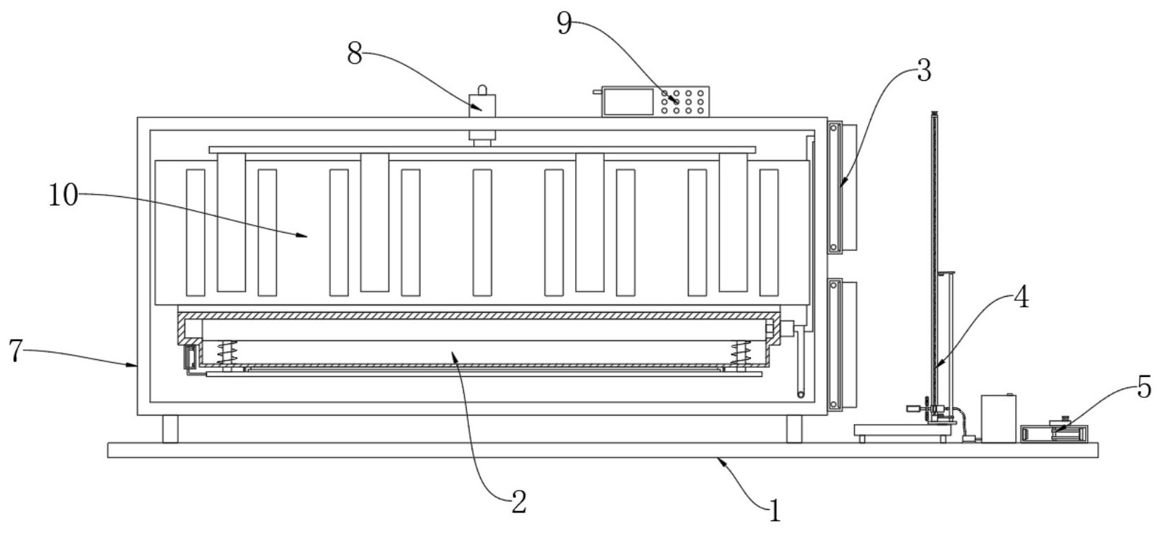
本发明属于光伏电池技术领域,尤其是涉及一种温控组件及设有该温控组件的光伏储能电池组,包括底座,所述底座的上端固定安设有安装壳,所述安装壳内固定安设有换热控温机构,所述安装壳的外壁固定安设有循环散热机构。本发明能够自动监测储能电池工作时的温升变化,进而改变与储能电池接触位置的换热流道,实现在储能电池高温的时候延长换热流道,保证换热质量和效率,且在储能电池温度较低时缩短换热流道,避免过长的换热流道会增加冷却液的流通阻力,能够定时对循环散热机构进行进一步的辅助清洁,将散热翅片表面粘附的灰尘杂质进行定时去除,进而避免灰尘杂质覆盖散热翅片对散热面积的影响,保证散热性能。


