授权公布号:CN115144923B
射线检查设备和车载安检系统
有效
申请
2021-03-30
申请公布
2022-10-04
授权
2024-02-06
预估到期
2041-03-30
| 申请号 | CN202110344214.0 |
| 申请日 | 2021-03-30 |
| 申请公布号 | CN115144923A |
| 申请公布日 | 2022-10-04 |
| 授权公布号 | CN115144923B |
| 授权公告日 | 2024-02-06 |
| 分类号 | G01V5/22;B60R11/02 |
| 分类 | 测量;测试; |
| 申请人名称 | 同方威视技术股份有限公司 |
| 申请人地址 | 北京市海淀区双清路同方大厦A座2层 |
专利法律状态
2024-02-06
授权
状态信息
授权
2022-10-25
实质审查的生效
状态信息
实质审查的生效;IPC(主分类):G01V5/00;申请日:20210330
2022-10-04
公布
状态信息
公布
摘要
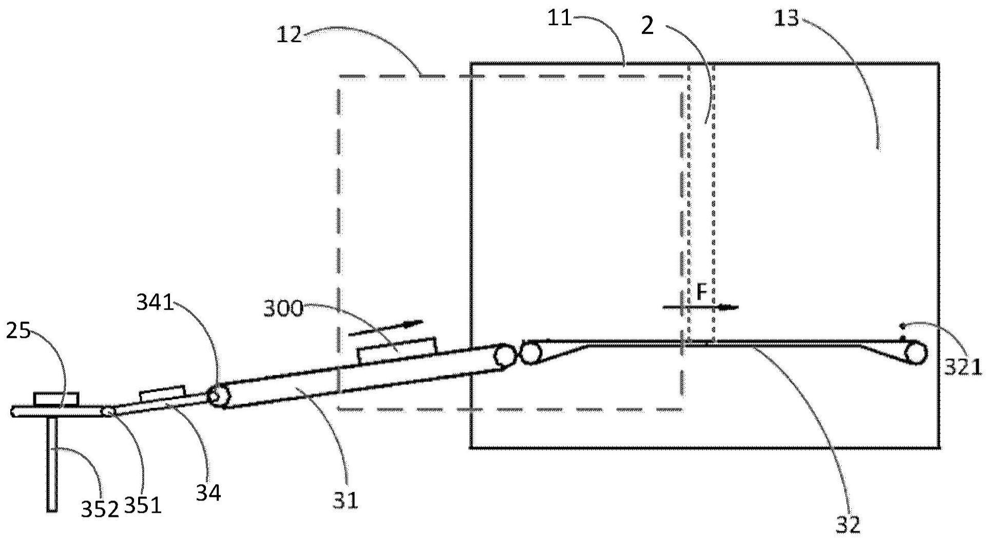
提供一种射线检查设备和车载安检系统。射线检查设备,包括支撑框架、传输机构和第一驱动机构。所述支撑框架内形成适用于检查目标的检查空间。传输机构包括:外部传输机构;设置在所述支撑框架中的内部传输机构;以及辅助支撑架,具有叠置在所述外部传输机构上的叠置状态和从所述外部传输机构延伸的延伸状态。第一驱动机构,所述第一驱动机构被构造成驱动所述外部传输机构靠近所述支撑框架的闲置状态和将远离所述支撑框架的工作状态之间转动。允许射线检查设备的检查空间具有足够的长度,满足了射线检查设备对检查空间的长度要求。


