授权公布号:CN215617336U
一种用于球形饰品的表面抛光装置
有效
申请
2021-04-27
申请公布
1970-01-01
授权
2022-01-25
预估到期
2031-04-27
| 申请号 | CN202120881637.1 |
| 申请日 | 2021-04-27 |
| 授权公布号 | CN215617336U |
| 授权公告日 | 2022-01-25 |
| 分类号 | B24B29/04;B24B41/04;B24B41/06;B24B47/22;B24B47/20;B24B47/12 |
| 分类 | 磨削;抛光; |
| 申请人名称 | 铜陵金蜗牛艺术品有限公司 |
| 申请人地址 | 安徽省铜陵市铜陵开发区泰山大道南段666号 |
专利法律状态
2022-01-25
授权
状态信息
授权
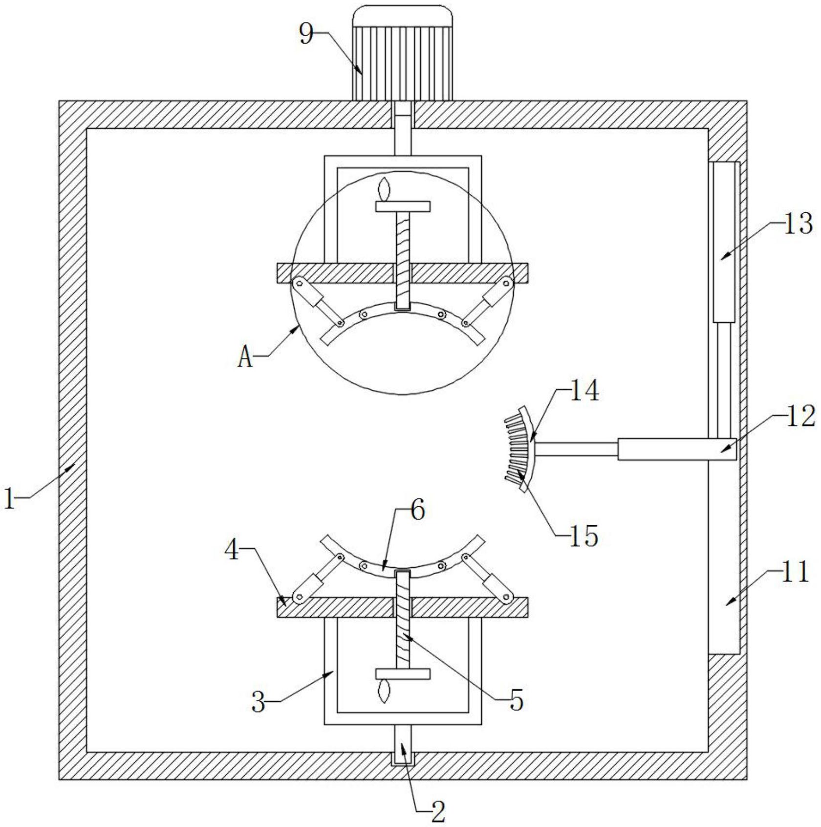
摘要
本实用新型公开了一种用于球形饰品的表面抛光装置,包括箱体,所述箱体内顶部和内底部均通过转轴转动连接有U型板,所述U型板远离转轴的侧壁固定连接有横板,所述横板侧壁螺纹连接有螺纹杆,所述螺纹杆远离转轴的一端转动连接有第一弧形板,所述箱体上端固定连接有电机,所述电机活动端与位于上方的转轴上端固定连接。本实用新型通过调节伸缩杆使得伸缩杆上的活动轴保持活动状态,然后将球形饰品放在两个第一弧形板之间,转动螺纹杆使得两个第一弧形板与球形饰品侧壁接触,进而对球形饰品进行初步夹紧,随后调节伸缩杆,使得第二弧形板与球形饰品侧壁紧密接触,进而对球形饰品进行再次夹紧,操作简单,实用性强。


