授权公布号:CN215614959U
一种铜质摆件的加工模具
有效
申请
2021-04-27
申请公布
1970-01-01
授权
2022-01-25
预估到期
2031-04-27
| 申请号 | CN202120882777.0 |
| 申请日 | 2021-04-27 |
| 授权公布号 | CN215614959U |
| 授权公告日 | 2022-01-25 |
| 分类号 | B22D17/22;B22D17/20;B22D29/08 |
| 分类 | 铸造;粉末冶金; |
| 申请人名称 | 铜陵金蜗牛艺术品有限公司 |
| 申请人地址 | 安徽省铜陵市铜陵开发区泰山大道南段666号 |
专利法律状态
2022-01-25
授权
状态信息
授权
摘要
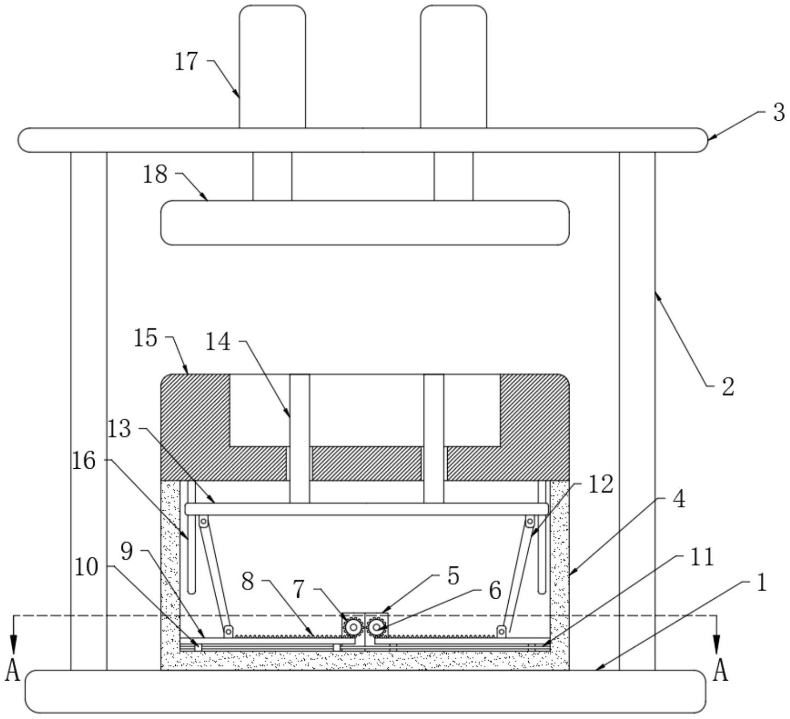
本实用新型公开了一种铜质摆件的加工模具,涉及铜质摆件加工技术领域,它包括底板与固定连接在底板上端的壳体,所述壳体上端固定连接有下模,所述壳体内设用于顶出成型模具的顶出机构,所述顶出机构包括对称固定连接在下模下端的竖杆,两个所述竖杆侧壁共同滑动连接有升降板,所述升降板上端对称固定连接有两个顶杆,两个所述顶杆上端均贯穿下模下端。本实用新型取代了抓取的方式,能够将成型后铜摆件顶出,避免铜摆件的划伤,从而提高了铜摆件的成型后的品质,另外通过设置限位杆与限位块,保证了顶出过程中顶杆升降的稳定性,进而使得铜质摆件的顶出工作顺利进行。


