授权公布号:CN215617337U
一种香炉的表面剖光机构
有效
申请
2021-04-27
申请公布
1970-01-01
授权
2022-01-25
预估到期
2031-04-27
| 申请号 | CN202120882631.6 |
| 申请日 | 2021-04-27 |
| 授权公布号 | CN215617337U |
| 授权公告日 | 2022-01-25 |
| 分类号 | B24B29/04;B24B47/12;B24B45/00 |
| 分类 | 磨削;抛光; |
| 申请人名称 | 铜陵金蜗牛艺术品有限公司 |
| 申请人地址 | 安徽省铜陵市铜陵开发区泰山大道南段666号 |
专利法律状态
2022-01-25
授权
状态信息
授权
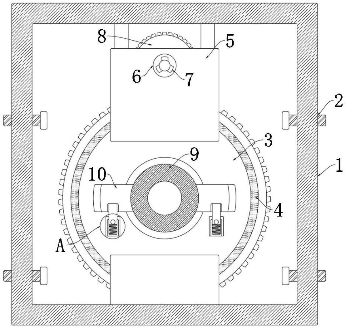
摘要
本实用新型公开了一种香炉的表面剖光机构,包括设置于剖光机内的支撑框,所述支撑框通过左右两侧框壁上的多个螺栓与剖光机连接,所述支撑框内设有转盘,所述支撑框上下两侧均设有夹块,所述转盘通过滑动机构与两个夹块连接,位于上方的所述夹块内转动连接有传动轴,所述转盘通过传动机构与传动轴连接,所述传动轴通过卡合机构与剖光机内的电机连接。本实用新型通过设置多个螺栓与卡合机构,代替传统的焊接方式转而利用螺栓带动支撑框与剖光机连接,使得可以在支撑框的带动下使其内部的剖光设备便于拆卸与安装,传动轴也可以很便利的与电机输出轴抽离,从而实现了更加方便与快捷的对支撑框内的剖光设备进行检修与维护。


