授权公布号:CN215617389U
一种球形饰品的打磨夹持装置
有效
申请
2021-04-27
申请公布
1970-01-01
授权
2022-01-25
预估到期
2031-04-27
| 申请号 | CN202120882930.X |
| 申请日 | 2021-04-27 |
| 授权公布号 | CN215617389U |
| 授权公告日 | 2022-01-25 |
| 分类号 | B24B41/06 |
| 分类 | 磨削;抛光; |
| 申请人名称 | 铜陵金蜗牛艺术品有限公司 |
| 申请人地址 | 安徽省铜陵市铜陵开发区泰山大道南段666号 |
专利法律状态
2022-01-25
授权
状态信息
授权
摘要
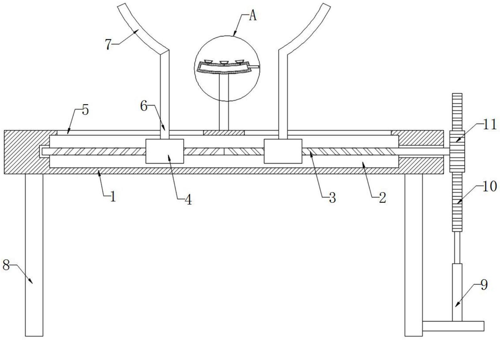
本实用新型公开了一种球形饰品的打磨夹持装置,包括横板,所述横板侧壁开设有凹槽,所述凹槽内壁转动连接有双向丝杠,所述双向丝杠侧壁螺纹连接有两个滑块,两个所述滑块与凹槽内壁滑动连接,所述凹槽内底部开设有两个通槽,两个所述通槽内壁滑动连接有滑板,所述滑板下端与滑块上端固定连接,所述滑板上端固定连接有弧形夹板,所述横板下端固定连接有两个竖板。本实用新型通过双向丝杠转动带动与双向丝杠侧壁螺纹连接的两个滑块相互靠近,进而两个滑块通过滑板带动两个弧形夹板相互靠近,进而对球形饰品进行夹紧,便于对其进行打磨处理,无需操作人员调节多个夹持组件进行夹紧,并且可以对不同大小的球形饰品进行夹紧,实用性强。


