授权公布号:CN210958508U
一种新型微型无线摄像机模组
有效
申请
2020-01-16
申请公布
1970-01-01
授权
2020-07-07
预估到期
2030-01-16
| 申请号 | CN202020088749.7 |
| 申请日 | 2020-01-16 |
| 授权公布号 | CN210958508U |
| 授权公告日 | 2020-07-07 |
| 分类号 | H04N5/225 |
| 分类 | 电通信技术; |
| 申请人名称 | 杭州巨峰科技有限公司 |
| 申请人地址 | 浙江省杭州市富阳区银湖街道富闲路9号银湖创新中心9号8层 |
专利法律状态
2020-07-07
授权
状态信息
授权
摘要
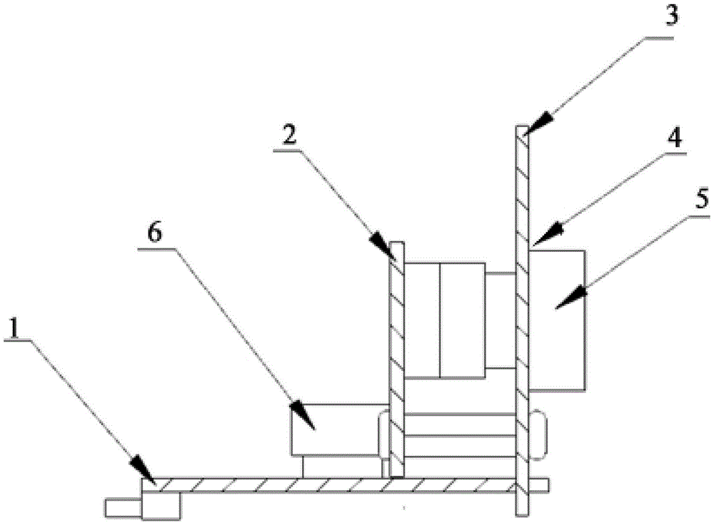
本实用新型公开的是一种新型微型无线摄像机模组,包括PCB印刷电路板结构的接口板、核心板、灯板,所述接口板水平设置,在所述接口板上端面上竖直且电性连接有核心板、灯板,且核心板与灯板间隔且平行,所述接口板、核心板、灯板间构成“F”形,所述灯板上开设有圆形孔,所述圆形孔内穿设且连接有镜头,所述镜头电性连接在核心板上,本实用新型“F”形结构设置,使得内部空间紧凑,结构牢固,排线方便,体型较小,方便携带;三板式设计,利于散热以及接口的排布设置,灯板既有利于对摄像头支撑作用,也利于有对摄像头补光。


