授权公布号:CN108386950B
便装型柜式新风机
有效
申请
2018-05-02
申请公布
2018-08-10
授权
2023-12-22
预估到期
2038-05-02
| 申请号 | CN201810411027.8 |
| 申请日 | 2018-05-02 |
| 申请公布号 | CN108386950A |
| 申请公布日 | 2018-08-10 |
| 授权公布号 | CN108386950B |
| 授权公告日 | 2023-12-22 |
| 分类号 | F24F7/007;F24F13/20;F24F13/28;F24F13/08;F24F11/89 |
| 分类 | 供热;炉灶;通风; |
| 申请人名称 | 皓庭(唐山)环境科技有限公司 |
| 申请人地址 | 河北省唐山市高新技术产业园区建设北路168号冀东新闻中心大厦主楼7层 |
专利法律状态
2023-12-22
授权
状态信息
授权
2018-08-10
公布
状态信息
公布
摘要
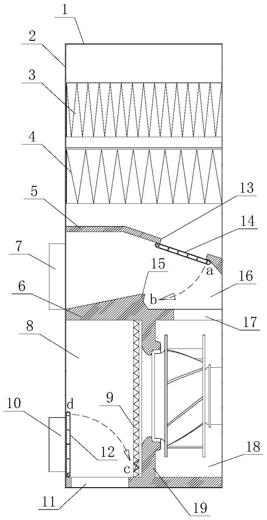
本发明提供一种便装型柜式新风机,新风出口下设设有滤芯;滤芯安装仓下设有第一隔板、第二隔板;两隔板间构成风路切换仓,风路切换仓后设有排风口;第二隔板底部固接有风机安装板,风机安装板将柜体下部分成风机仓和混风仓,第二隔板风机仓上部的部分开设有通风口二;第一隔板上与通风口二相对的位置开设有通风口一;通风口一旁边设有出风切换阀,出风切换阀有风口位和仓位两个位态;混风仓底部机壳底板设有室内空气进口;混风仓底部机壳侧板设有室外空气进口;室内空气进口和室外空气进口夹角处设有进风切换阀,进风切换阀有室内风位、室外风位、中间位三个位态,本方案内部布局简洁、控制逻辑简单,风机的吸取力距短,作用力大。


