授权公布号:CN218915371U
一种水加热装置
有效
申请
2022-10-25
申请公布
1970-01-01
授权
2023-04-25
预估到期
2032-10-25
| 申请号 | CN202222815636.4 |
| 申请日 | 2022-10-25 |
| 授权公布号 | CN218915371U |
| 授权公告日 | 2023-04-25 |
| 分类号 | F24H1/10;F24H9/1809;F24H9/20;F24H15/124;F24H15/421 |
| 分类 | 供热;炉灶;通风; |
| 申请人名称 | 北京三五二环保科技有限公司 |
| 申请人地址 | 北京市朝阳区胜古中路2号院5号楼金基业大厦418室 |
专利法律状态
2023-04-25
授权
状态信息
授权
摘要
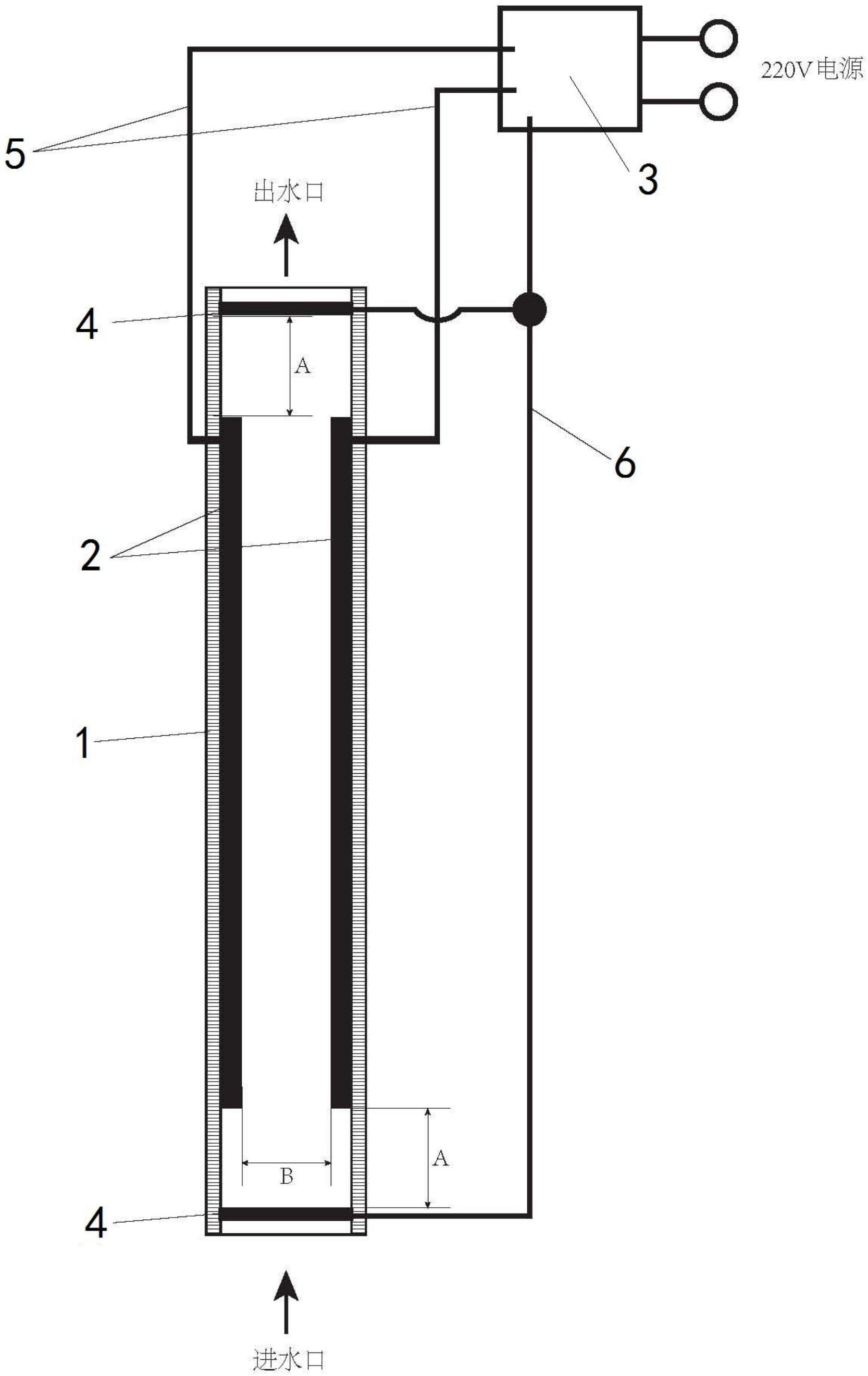
本实用新型公开了一种水加热装置,该装置包括控制单元和加热单元,所述加热单元包括绝缘筒,该绝缘筒上下具有进出水孔,其余部位都是绝缘密封的,以确保安全;在绝缘筒中平行设置有两条惰性电极,通过控制单元为绝缘电极提供交流电压,从而使得两条绝缘电极之间的水导电,并产热,通过实时探测获知该水的电阻值,实时相应调整施加到所述惰性电极上的电压值,使得该装置的功率消耗维持在稳定的范围内;另外在绝缘筒中还设置有接地的导电网,当加热装置运行异常,进出水孔附近的水中带电时,通过该导电网将电流接地,确保安全。


