授权公布号:CN216798278U
一种通风管道插入式紫外消毒装置
有效
申请
2021-11-16
申请公布
1970-01-01
授权
2022-06-24
预估到期
2031-11-16
| 申请号 | CN202122809319.7 |
| 申请日 | 2021-11-16 |
| 授权公布号 | CN216798278U |
| 授权公告日 | 2022-06-24 |
| 分类号 | A61L2/10;A61L2/14;A61L2/26 |
| 分类 | 医学或兽医学;卫生学; |
| 申请人名称 | 佛山柯维光电股份有限公司 |
| 申请人地址 | 广东省佛山市高明区沧江工业园东园明城镇城七路 |
专利法律状态
2022-06-24
授权
状态信息
授权
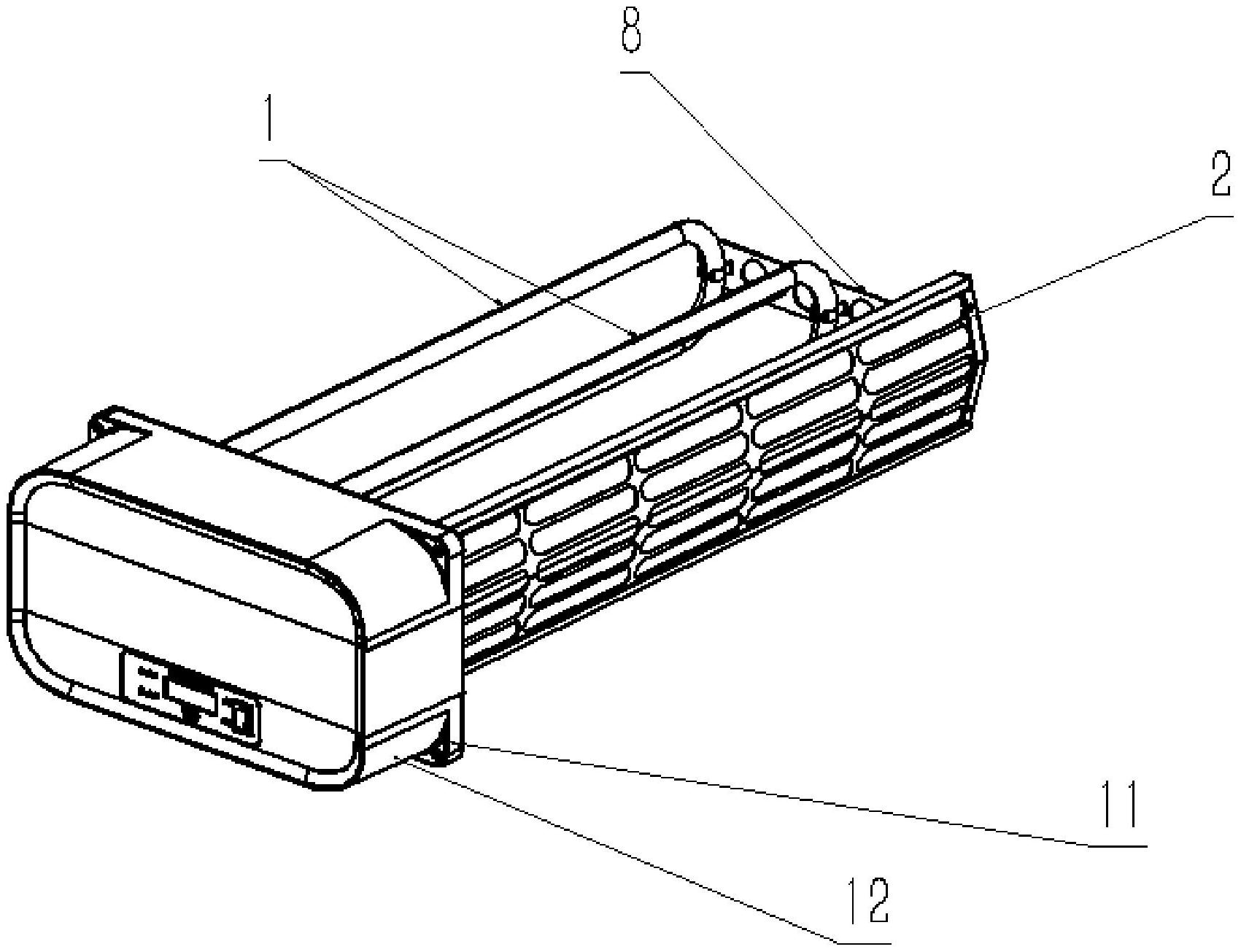
摘要
本实用新型涉及紫外消毒领域,尤其涉及一种通风管道插入式紫外消毒装置,包括固定框,固定框上安装有紫外灯和纳米光触媒网,固定框的一侧连通设置有电源盒,电源盒内设置有负离子发生器、镇流器、风感开关以及数字计时器,电源盒的外侧设置有开关。本装置通过设置负离子发生器、纳米光触媒网和负离子发生器,利用紫外光、负离子、光触媒均对病毒细菌等微生物有杀灭效果,产生协同作用,微生物杀灭率高。本装置在安装时仅需在通风管道上加工合适尺寸的安装孔,插入管道中即可,减少安装消毒装置的投入成本,可满足不同风道尺寸和风量大小的需求。


