授权公布号:CN218608028U
一种螺旋升降机构
有效
申请
2022-09-16
申请公布
1970-01-01
授权
2023-03-14
预估到期
2032-09-16
| 申请号 | CN202222471087.3 |
| 申请日 | 2022-09-16 |
| 授权公布号 | CN218608028U |
| 授权公告日 | 2023-03-14 |
| 分类号 | A63H33/08;A63H17/00 |
| 分类 | 运动;游戏;娱乐活动; |
| 申请人名称 | 广东思成智能玩具有限公司 |
| 申请人地址 | 广东省东莞市万江街道水蛇涌社区泰新路165号泰库文化创意产业园4号二层202 |
专利法律状态
2023-03-14
授权
状态信息
授权
摘要
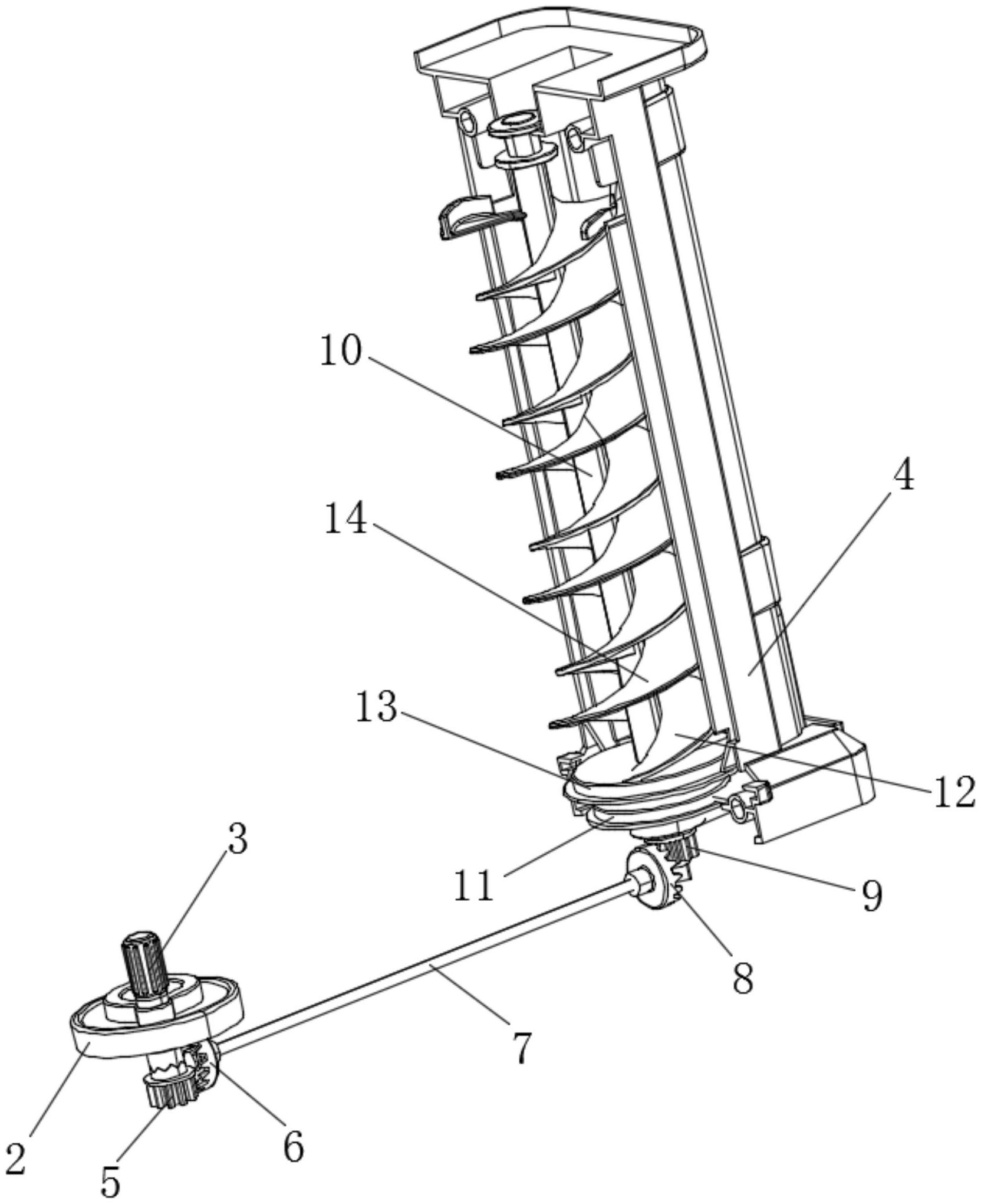
本实用新型涉及轨道玩具及积木玩具技术领域,公开了一种螺旋升降机构,包括:积木底座和升降外壳,所述升降外壳内部中央设有转轴,所述转轴外壁设有第一螺旋叶片和第二螺旋叶片,所述转轴底端设有从动齿轮,固定座顶部中央设有转座,转座底端设有主动齿轮,本实用新型在螺旋叶片起始部分,利用螺旋角度将玩具小车切入旋转轨道中,玩具小车跟随螺旋轨迹同步上升,当达到最高点时,玩具小车通过螺旋偏移,脱离螺旋轨迹,多组驱动动作机构下因为同驱动源条件下,多组动作机构间的动作协调更为自然,更为顺畅灵活,在应用成本上之前比传统的多驱动结构,更为简单,成本更低。


