授权公布号:CN107366054B
自动落纱机
有效
申请
2017-08-28
申请公布
2017-11-21
授权
2023-08-01
预估到期
2037-08-28
| 申请号 | CN201710751269.7 |
| 申请日 | 2017-08-28 |
| 申请公布号 | CN107366054A |
| 申请公布日 | 2017-11-21 |
| 授权公布号 | CN107366054B |
| 授权公告日 | 2023-08-01 |
| 分类号 | D01H9/08;D01H9/10 |
| 分类 | 天然或人造的线或纤维;纺纱或纺丝; |
| 申请人名称 | 湖北雪美实业股份有限公司 |
| 申请人地址 | 湖北省襄阳市襄城区庞公路169号 |
专利法律状态
2023-08-01
授权
状态信息
授权
2018-01-09
实质审查的生效
状态信息
实质审查的生效;IPC(主分类):D01H9/08;申请日:20170828
2017-11-21
公布
状态信息
公布
摘要
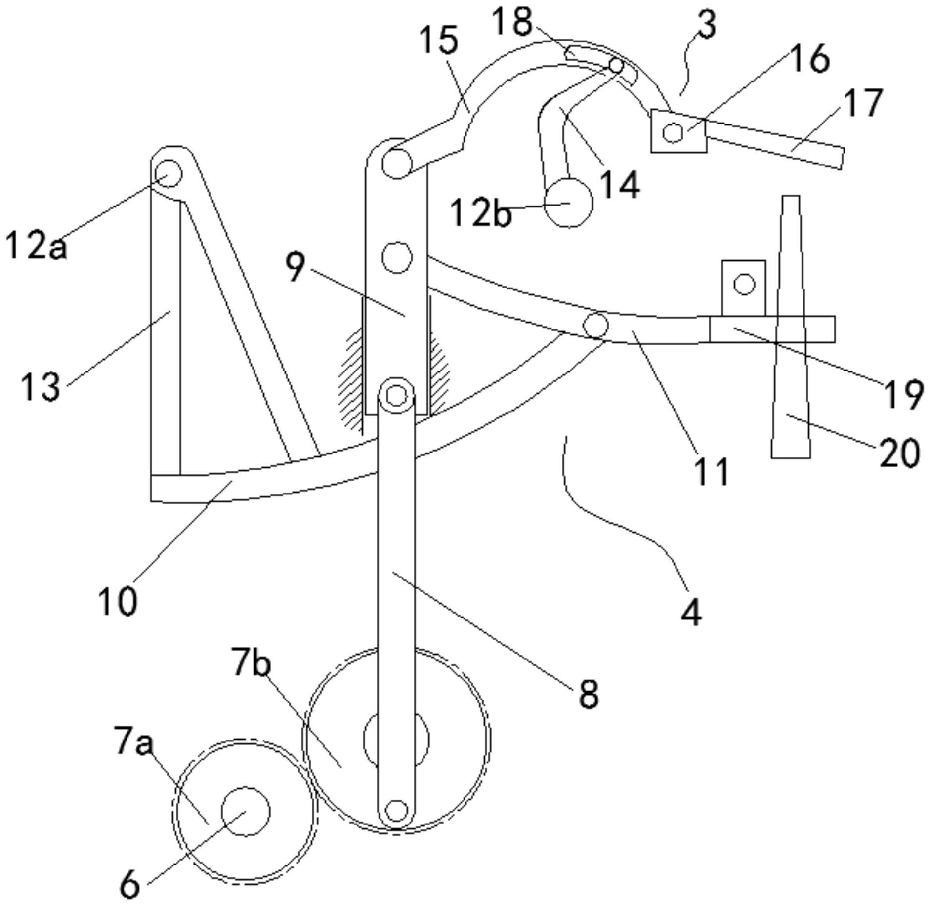
本发明公开一种自动落纱机,包括行走小车,纱管箱,纱锭箱,行走小车靠近细纱机的一侧上下并列设置有落纱机构和拔纱机构,行走小车上设置有驱动落纱机构和拔纱机构同时动作的驱动机构,驱动机构包括设置在行走小车上的驱动电机、通过皮带轮或者齿轮与驱动电机连接的凸轮轴、安装在凸轮轴两端的凸轮、铰接在凸轮上的连杆和与连杆铰接的滑架,所述滑架沿行走小车竖直方向上下移动;本发明能够有效减小自动落纱机的尺寸,通过传动机构使落纱机构和拔纱机构同时交错工作,能够在一个工位上对多个纱锭和纱管进行定位、拔管、落纱、上管和落管,可靠性高,提高工作效率。


