授权公布号:CN213476197U
一种高速捻线机
有效
申请
2020-08-21
申请公布
1970-01-01
授权
2021-06-18
预估到期
2030-08-21
| 申请号 | CN202021760869.3 |
| 申请日 | 2020-08-21 |
| 授权公布号 | CN213476197U |
| 授权公告日 | 2021-06-18 |
| 分类号 | D01H1/14;D01H1/16 |
| 分类 | 天然或人造的线或纤维;纺纱或纺丝; |
| 申请人名称 | 湖北雪美实业股份有限公司 |
| 申请人地址 | 湖北省襄阳市襄城区庞公路169号 |
专利法律状态
2021-06-18
授权
状态信息
授权
摘要
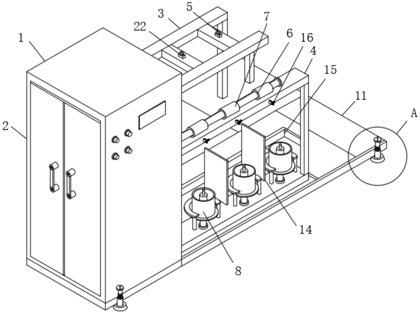
本实用新型涉及捻线机设备技术领域,公开了一种高速捻线机,包括捻线机,所述捻线机的外表面设置有配电柜,所述配电柜的一侧固定连接有连接架,所述连接架的下表面设置有捻纱架,所述捻纱架的上表面设置有插腚,所述插腚的外表面套接有筒子。本实用新型具有以下优点和效果:捻线机通过由配电柜、连接架、捻纱架、纱线筒等结构活动连接组合而成,连接架与捻纱架两者把其中的结构分割开来,使捻线机整体结构更加简洁明了,便于机器在出现问题时能够快速定位问腿区域,半圆环挡片设置在纱线筒的外表面,支撑柱把半圆环挡片固定在捻纱架底部的上表面,用于防止纱线筒在绕线或退线的过程中,由于高速旋转而出现移位的现象发生。


