授权公布号:CN213476225U
一种高效高速整经机
有效
申请
2020-08-21
申请公布
1970-01-01
授权
2021-06-18
预估到期
2030-08-21
| 申请号 | CN202021777383.0 |
| 申请日 | 2020-08-21 |
| 授权公布号 | CN213476225U |
| 授权公告日 | 2021-06-18 |
| 分类号 | D02H3/00;D02H13/00 |
| 分类 | 纱线;纱线或绳索的机械整理;整经或络经; |
| 申请人名称 | 湖北雪美实业股份有限公司 |
| 申请人地址 | 湖北省襄阳市襄城区庞公路169号 |
专利法律状态
2021-06-18
授权
状态信息
授权
摘要
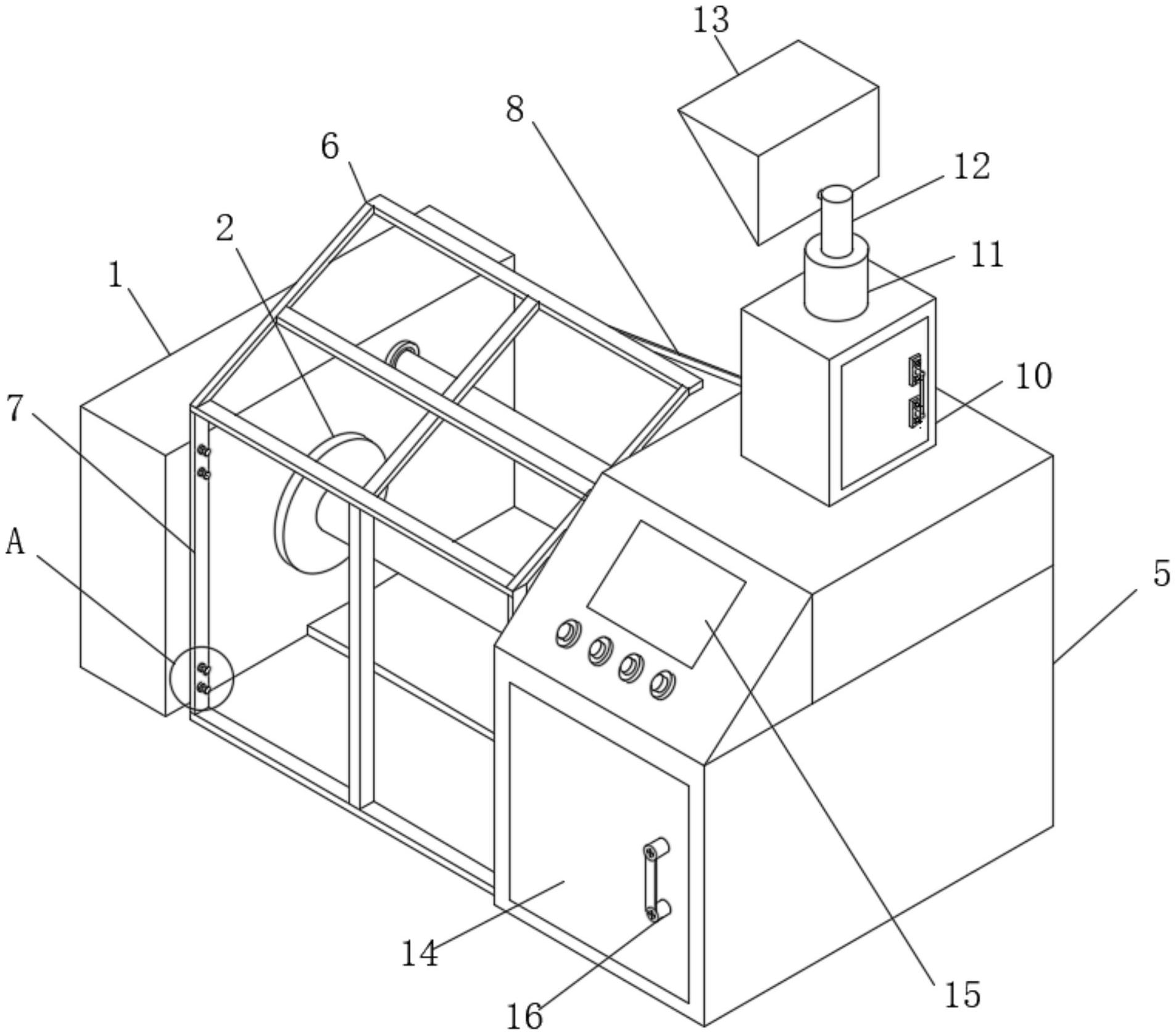
本实用新型涉及整经机设备技术领域,公开了一种高效高速整经机,包括传动箱,所述传动箱的外表面的一侧固定连接有限位圆盘,所述限位圆盘的外表面固定连接有轴承,所述轴承的内部固定连接有收线筒,所述收线筒的一端固定连接有操控箱。本实用新型具有以下优点和效果:通过在整经机的外部设置第一防护框架和第二防护框架,两个防护框架把整经机内部收线筒等结构框了起来,起到了很好的保护作用,第一防护框架与一端连接的支撑杆形成了一定的夹角,操控箱上表面的吸附板,接通电源之后,主动吸收整经过程中纱线与机器结构之间因摩擦产生的毛絮,把毛絮吸附到收集箱中,达到了吸收毛絮的目的,也有益于员工作业时的身心健康。


