授权公布号:CN215976454U
一种浆纱机用的清理装置
有效
申请
2021-08-17
申请公布
1970-01-01
授权
2022-03-08
预估到期
2031-08-17
| 申请号 | CN202121928529.1 |
| 申请日 | 2021-08-17 |
| 授权公布号 | CN215976454U |
| 授权公告日 | 2022-03-08 |
| 分类号 | D06B23/30 |
| 分类 | 织物等的处理;洗涤;其他类不包括的柔性材料; |
| 申请人名称 | 湖北雪美实业股份有限公司 |
| 申请人地址 | 湖北省襄阳市襄城区庞公路169号 |
专利法律状态
2022-03-08
授权
状态信息
授权
摘要
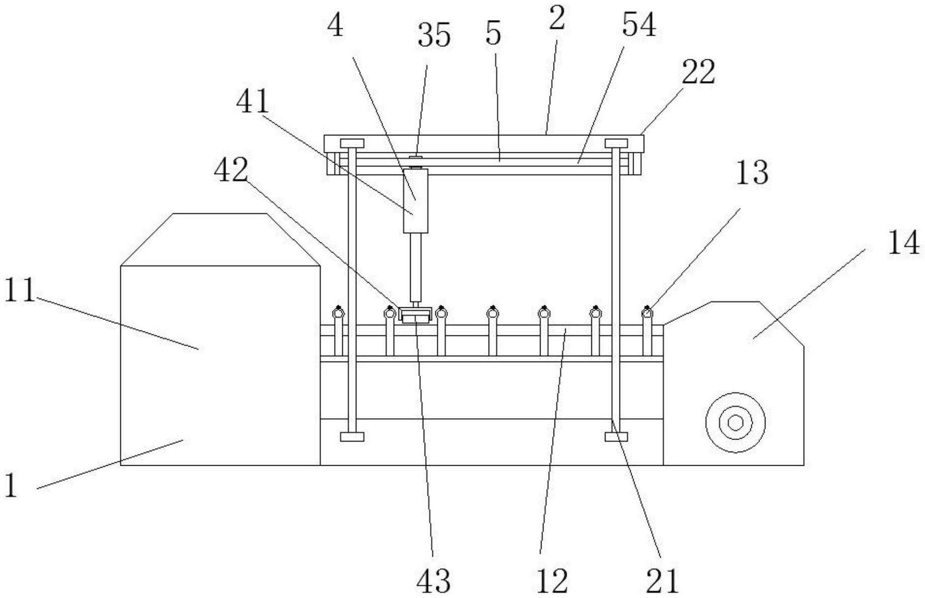
本实用新型涉及浆纱机清理技术领域,且公开了一种浆纱机用的清理装置,包括浆纱机组件,浆纱机组件的顶部安装有支撑组件,支撑组件的内部安装有转动组件,转动组件的底部固定连接有伸缩组件,伸缩组件包括电动推杆、连接架和滚筒刷;该装置,通过支撑组件内部的第一电机转动使第一电机带动连接轴转动,当连接轴转动的时候,会使滑块运动,而滑块下面有电动推杆,电动推杆的底部连接有连接架,连接架上有滚筒刷,所以当第一电机转动的时候,会使滚筒刷在浆纱机的内部进行清理,使其保持干净,减少内部的灰尘和浆液,而第一电机上的连接块可以使第一电机固定在支撑架内的滑槽内,防止出现第一电机转动,造成连接轴的不转,使其造成机器的死机。


