授权公布号:CN218174997U
一种四针把手下料机
有效
申请
2022-07-28
申请公布
1970-01-01
授权
2022-12-30
预估到期
2032-07-28
| 申请号 | CN202221969741.7 |
| 申请日 | 2022-07-28 |
| 授权公布号 | CN218174997U |
| 授权公告日 | 2022-12-30 |
| 分类号 | C14B5/00;C14B17/08;C14B17/00 |
| 分类 | 小原皮;大原皮;毛皮;皮革; |
| 申请人名称 | 哈尔滨宏益实业集团股份有限公司 |
| 申请人地址 | 黑龙江省哈尔滨市道外区团结镇黄家崴子路22号 |
专利法律状态
2022-12-30
授权
状态信息
授权
摘要
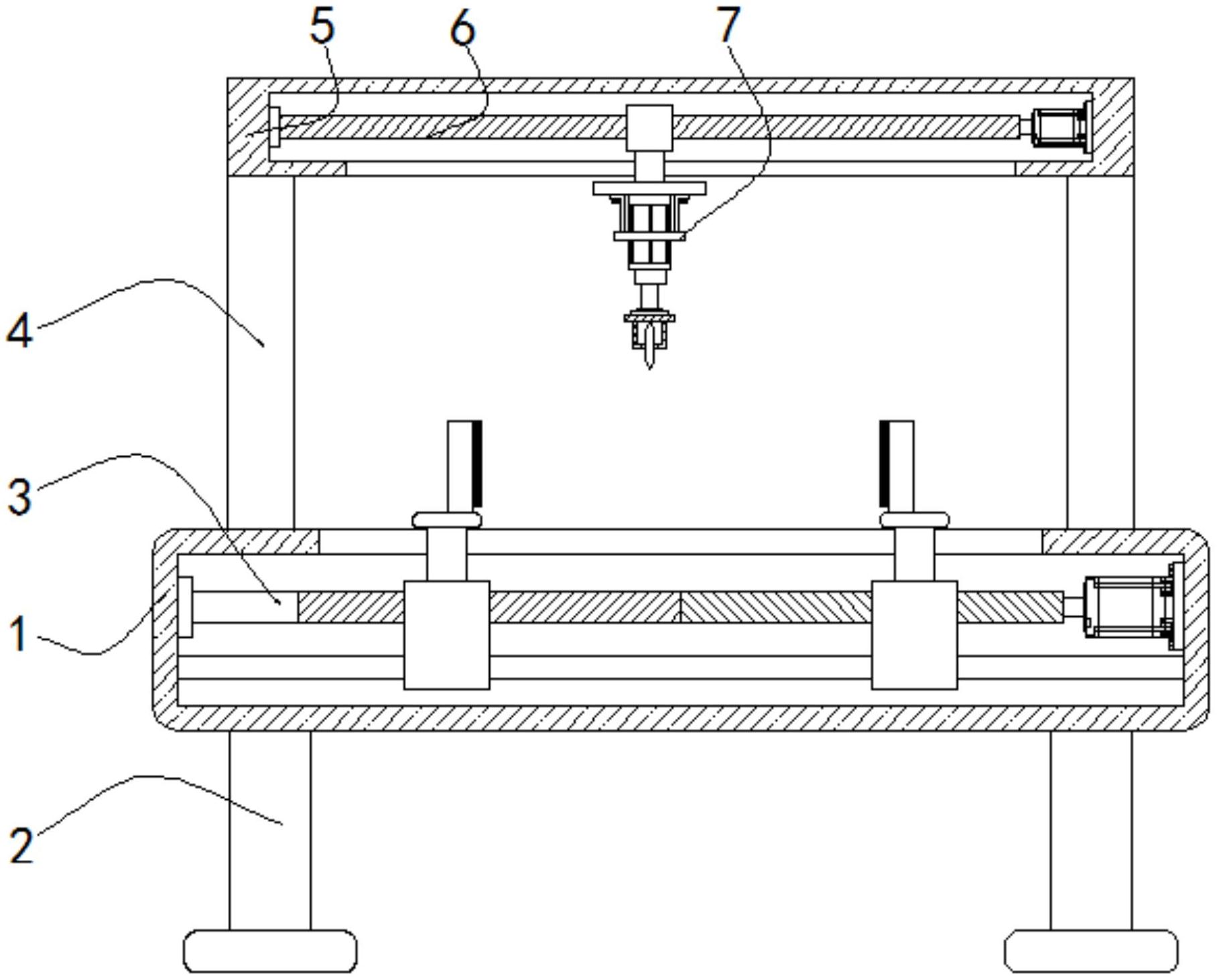
本实用新型涉及一种四针把手下料机,包括工作台,所述工作台的下表面固定有四个支撑柱,所述工作台上设有夹持机构,所述工作台的上表面固定有两个固定柱,两个所述固定柱的上表面固定有顶仓,所述顶仓的内部设有移动机构,所述移动机构上设有切割器;所述夹持机构包括与工作台内腔右侧固定的第一电机。该四针把手下料机,设有夹持机构,夹持机构通过第一电机带动第一螺杆进行旋转,使两个第一螺纹块进行相对移动,带动连接杆和移动板进行移动,使夹板进行移动,对物料进行夹持,避免在切割过程中,物料发生移位,导致材料的浪费,相比于传统的四针把手下料机,切割过程中的稳定性更强,实用性更高。


