授权公布号:CN208822410U
空气水源自助咖啡机
有效
申请
2018-06-26
申请公布
1970-01-01
授权
2019-05-07
预估到期
2028-06-26
| 申请号 | CN201820990346.4 |
| 申请日 | 2018-06-26 |
| 授权公布号 | CN208822410U |
| 授权公告日 | 2019-05-07 |
| 分类号 | A47J31/40;A47J31/44;A47J31/42;A47J31/00;A47J31/41 |
| 分类 | 家具;家庭用的物品或设备;咖啡磨;香料磨;一般吸尘器; |
| 申请人名称 | 深圳福能达空气与水科技发展有限公司 |
| 申请人地址 | 广东省深圳市福田区华强北街道深南中路与华发北路交汇处华能大厦25层 |
专利法律状态
2019-05-07
授权
状态信息
授权
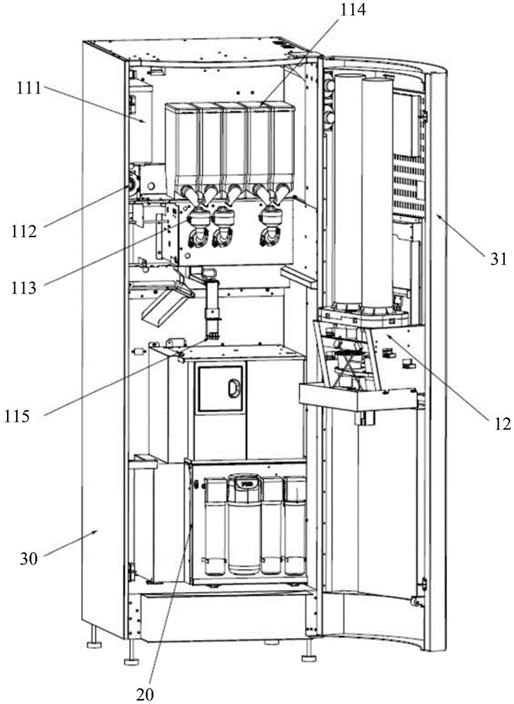
摘要
本实用新型提供了一种空气水源自助咖啡机,包括咖啡冲泡机构、落杯器、控制板、空气制水机模组,该模组包括:用于排出高温高压气体的压缩机、与压缩机连接并用于将所述高温高压气体与空气进行换热的冷凝器、电子膨胀阀及蒸发器,冷凝器冷凝液体经过电子膨胀阀降压后形成常温饱和液体并进入蒸发器与空气进行换热形成蒸发气体,气体蒸发析出空气中的水份作为水源。本实用新型所述空气水源自助咖啡机,通过增设为自助咖啡机提供水源的空气制水机模组的方式,克服了现有技术中自助咖啡机的弊端,使其自带水源,使用方便,降低了运营成本,自助性能高。


