授权公布号:CN210421254U
船舶动力尾气制水系统
有效
申请
2019-08-07
申请公布
1970-01-01
授权
2020-04-28
预估到期
2029-08-07
| 申请号 | CN201921272974.X |
| 申请日 | 2019-08-07 |
| 授权公布号 | CN210421254U |
| 授权公告日 | 2020-04-28 |
| 分类号 | E03B3/28 |
| 分类 | 给水;排水; |
| 申请人名称 | 深圳福能达空气与水科技发展有限公司 |
| 申请人地址 | 广东省深圳市福田区华强北街道深南中路与华发北路交汇处华能大厦25层 |
专利法律状态
2020-04-28
授权
状态信息
授权
摘要
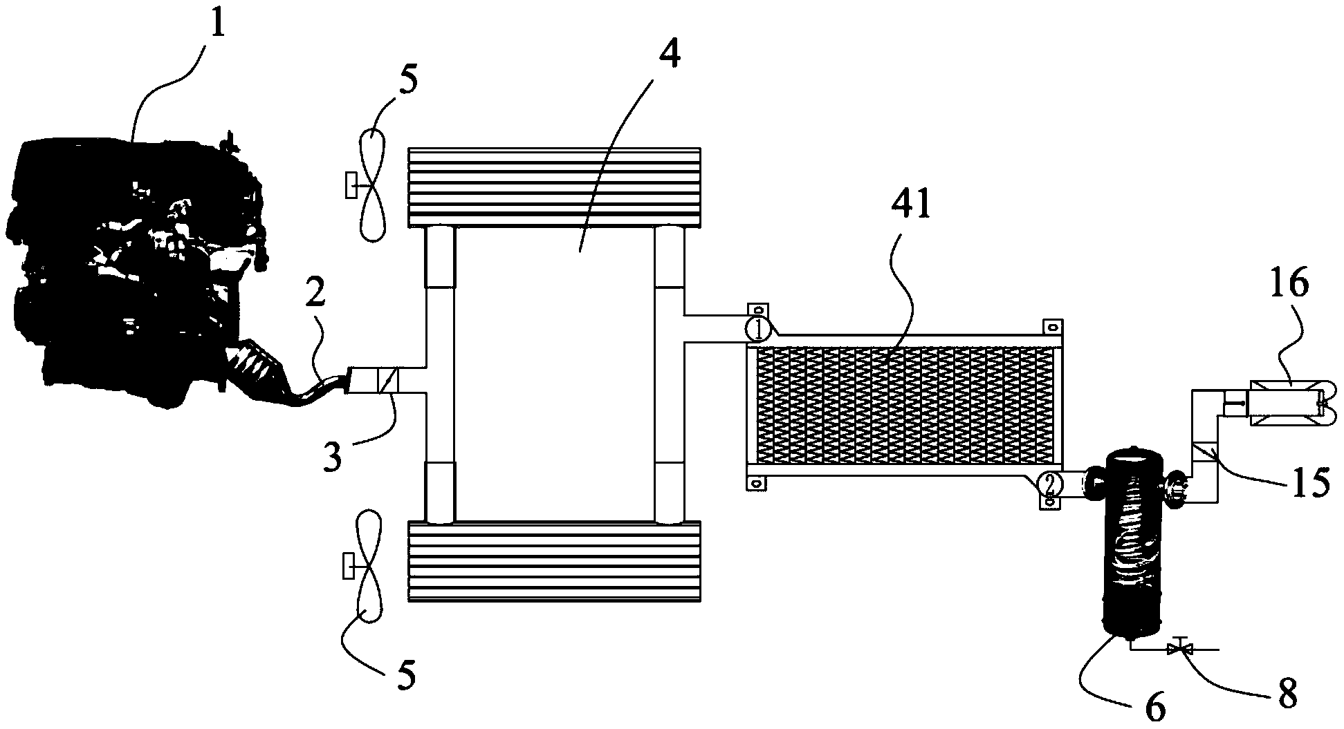
本实用新型提供了一种船舶动力尾气制水系统,包括:排气阀、第一级尾气冷凝器、第一级气水分离器以及出水阀,船舶动力尾气排气管上设置有排气阀,第一级尾气冷凝器入口与排气管的出口连接,第一级尾气冷凝器出口与第一级气水分离器连接,在第一级气水分离器底部设置有用于一级水源供给的出水阀,所述第一级气水分离器出气口上连接有排气阀,排气阀出口处套有一个用于防止杂物或污水进入的排气帽。本实用新型所述船舶动力尾气制水系统,通过在船舶动力尾气排气管上连接尾气冷凝器、气水分离器的方式,回收船舶动力尾气中的水分。结构简单,便于安装,且不占有船舶装载空间。


