授权公布号:CN204654357U
一种床垫
有效
申请
2015-05-27
申请公布
1970-01-01
授权
2015-09-23
预估到期
2025-05-27
| 申请号 | CN201520347436.8 |
| 申请日 | 2015-05-27 |
| 授权公布号 | CN204654357U |
| 授权公告日 | 2015-09-23 |
| 分类号 | A47C21/04;A47C27/00 |
| 分类 | 家具;家庭用的物品或设备;咖啡磨;香料磨;一般吸尘器; |
| 申请人名称 | 济南喜莱盈家俱制造有限公司 |
| 申请人地址 | 山东省济南市盖家沟盖世物流园第四库区 |
专利法律状态
2015-09-23
授权
状态信息
授权
摘要
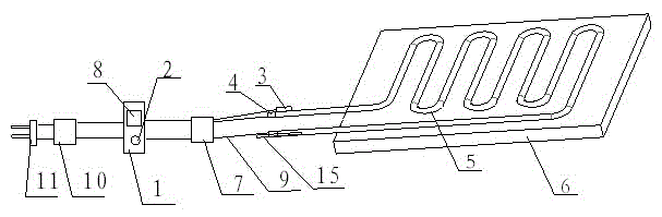
本实用新型公开了一种床垫,属于床上用品的技术领域。其技术方案为:一种床垫,包括上垫体、中间垫体和下垫体,所述上垫体、中间垫体和下垫体均为长方体,所述中间垫体内有凹槽,所述凹槽内嵌有与凹槽形状相对应的发热管,所述发热管为柔性胶管,内设置有碳纤维发热线,所述碳纤维发热线两端与连接器连接,所述连接器与控制器连接,所述控制器通过电源适配器与电源插头连接。本实用新型的有益效果为:使用方便,安全舒适,节能环保,保养了人的全身,长期使用能够促使人的睡眠质量大大提高。


