授权公布号:CN213972160U
一种用于塑料边料去除的切割装置
有效
申请
2020-10-27
申请公布
1970-01-01
授权
2021-08-17
预估到期
2030-10-27
| 申请号 | CN202022423496.7 |
| 申请日 | 2020-10-27 |
| 授权公布号 | CN213972160U |
| 授权公告日 | 2021-08-17 |
| 分类号 | B29C37/02 |
| 分类 | 塑料的加工;一般处于塑性状态物质的加工; |
| 申请人名称 | 广东可儿玩具有限公司 |
| 申请人地址 | 广东省佛山市南海区桂城街道深海路17号瀚天科技城A区8号楼十一楼1102单元 |
专利法律状态
2021-08-17
授权
状态信息
授权
摘要
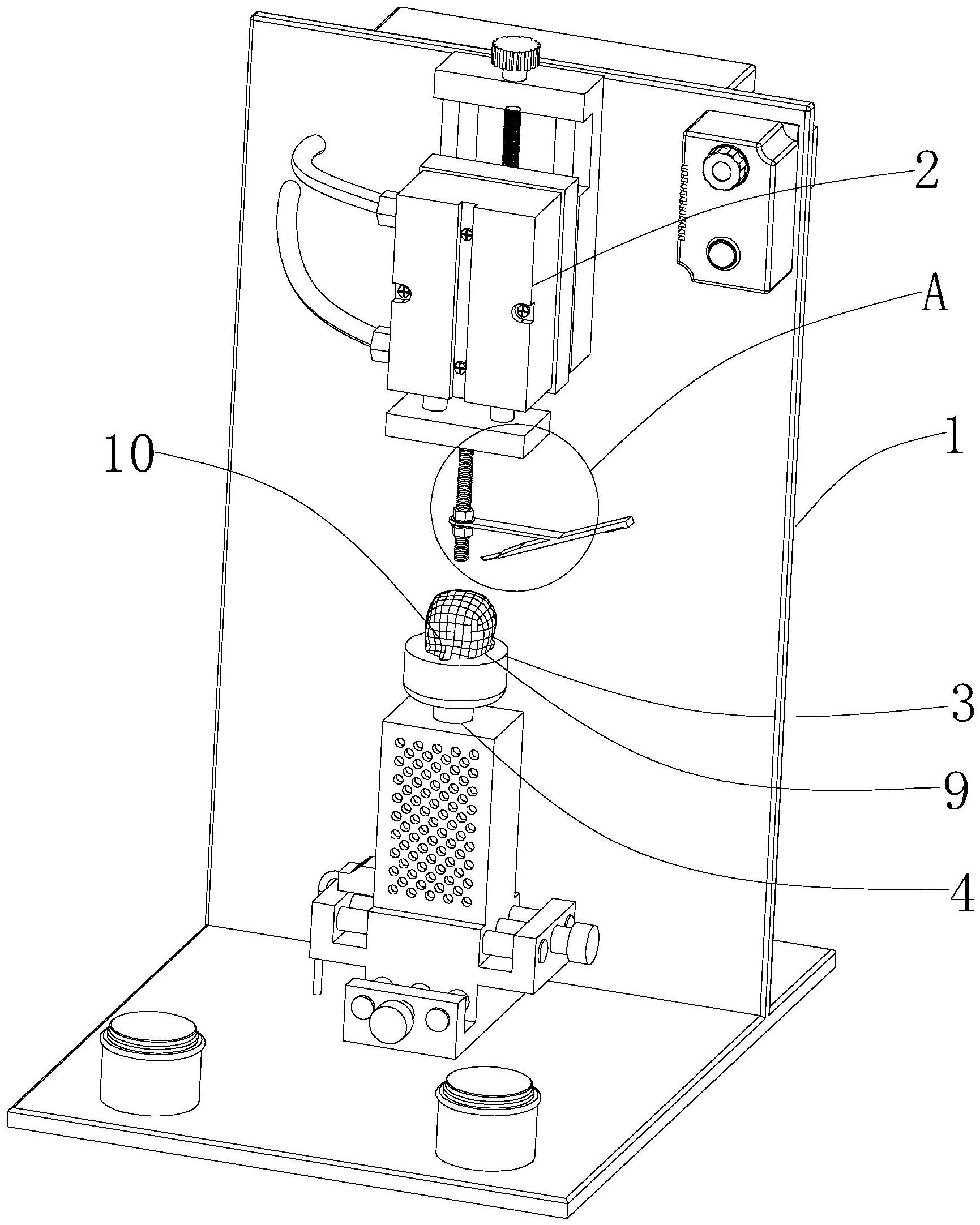
本实用新型公开了一种用于塑料边料去除的切割装置,涉及毛刺切除技术领域,解决了常见而现有的玩具外表面的毛刺去除操作均是靠工人的来完成,用工成本较高,不仅需要通过人工全程手持完成,导致工人劳动强度大,打磨效率低,因此不便于玩具的毛刺去除工序操作的问题,其技术方案要点是,包括依次布置的第一直线驱动装置、定位座、以及转动装置,定位座设置于转动装置的转动端上,第一直线驱动装置的移动端上设有用于压紧玩具工件的第一延伸杆,第一延伸杆上设置有切刀部,达到能够快速地将玩具工件上表面的环形毛刺精准的去掉,能够保持良好的贴合,以便于实现毛刺的快速高效去除,以便于提高玩具工件表面毛刺去除的效率的目的。


