授权公布号:CN213718817U
一种便于收纳和使用的新型折叠谷物仓
有效
申请
2020-11-27
申请公布
1970-01-01
授权
2021-07-20
预估到期
2030-11-27
| 申请号 | CN202022792555.8 |
| 申请日 | 2020-11-27 |
| 授权公布号 | CN213718817U |
| 授权公告日 | 2021-07-20 |
| 分类号 | A01F25/14;A01F25/16 |
| 分类 | 农业;林业;畜牧业;狩猎;诱捕;捕鱼; |
| 申请人名称 | 湖北碧山机械股份有限公司 |
| 申请人地址 | 湖北省孝感市安陆市碧山路89号 |
专利法律状态
2021-07-20
授权
状态信息
授权
摘要
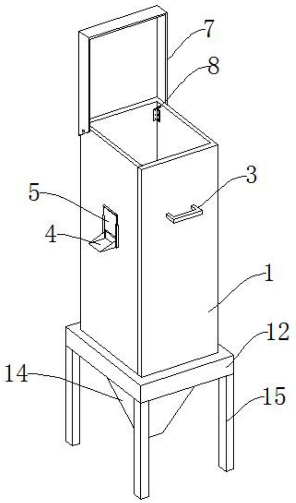
本实用新型公开了一种便于收纳和使用的新型折叠谷物仓,包括折叠仓板、出料槽和磁铁二,所述折叠仓板一侧壁上设置有磁铁一,所述折叠仓板外侧设置有提手,所述折叠仓板中部设置有所述出料槽,所述出料槽上方设置有仓门,所述折叠仓板另一侧壁上设置有所述磁铁二,所述折叠仓板上方设置有仓盖,所述磁铁一与所述折叠仓板通过卡槽连接,所述提手与所述折叠仓板通过螺钉连接,所述出料槽与所述折叠仓板通过螺钉连接。有益效果在于:本实用新型通过设置折叠仓板、磁铁一和磁铁二,能够使谷物仓折叠拆装便捷,避免谷物仓携带困难造成使用不方便,满足谷物仓使用的需求。


