授权公布号:CN217450273U
一种不堵糠的无绞龙串并两用双辊抛光机
有效
申请
2021-12-22
申请公布
1970-01-01
授权
2022-09-20
预估到期
2031-12-22
| 申请号 | CN202123242913.9 |
| 申请日 | 2021-12-22 |
| 授权公布号 | CN217450273U |
| 授权公告日 | 2022-09-20 |
| 分类号 | B02B3/04;B02B7/02;B02B7/00;B02B1/04 |
| 分类 | 破碎、磨粉或粉碎;谷物碾磨的预处理; |
| 申请人名称 | 湖北碧山机械股份有限公司 |
| 申请人地址 | 湖北省孝感市安陆市碧山路89号 |
专利法律状态
2022-09-20
授权
状态信息
授权
摘要
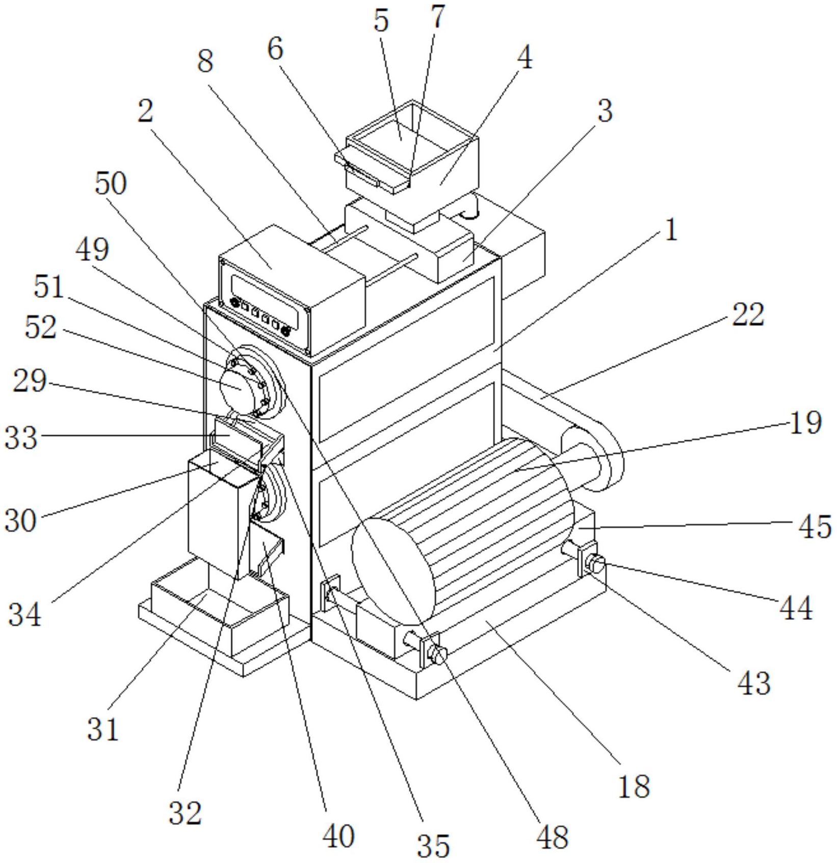
本实用新型公开了一种不堵糠的无绞龙串并两用双辊抛光机,涉及抛光机领域,包括机体,所述机体的顶部固定有控制箱,所述机体的顶部固定有控量箱,所述控量箱的顶部连接有进米箱,所述进米箱的外侧开设有板槽,所述板槽的内部滑动有挡板,所述挡板的前表面固定有把手,所述控量箱的内壁铰接有铰接杆,所述控制箱的一侧连接有电流杆,所述电流杆的一端与铰接杆的一端连接,所述铰接杆的外侧连接有挡料板,所述挡料板的顶部固定有伸缩弹簧。本实用新型通过电流杆控制铰接杆的转动,带动挡料板开合并控制挡料板的开合大小对进米量进行控制,避免米粒下料过多影响后续抛光部件和推料部件对米粒的抛光效果和推进速度。


