授权公布号:CN216856799U
一种具有旋筛装置的糙米开糙和碾白装置
有效
申请
2021-12-07
申请公布
1970-01-01
授权
2022-07-01
预估到期
2031-12-07
| 申请号 | CN202123051905.6 |
| 申请日 | 2021-12-07 |
| 授权公布号 | CN216856799U |
| 授权公告日 | 2022-07-01 |
| 分类号 | B02B3/04;B02B7/00;B02B7/02 |
| 分类 | 破碎、磨粉或粉碎;谷物碾磨的预处理; |
| 申请人名称 | 湖北碧山机械股份有限公司 |
| 申请人地址 | 湖北省孝感市安陆市碧山路89号 |
专利法律状态
2022-07-01
授权
状态信息
授权
摘要
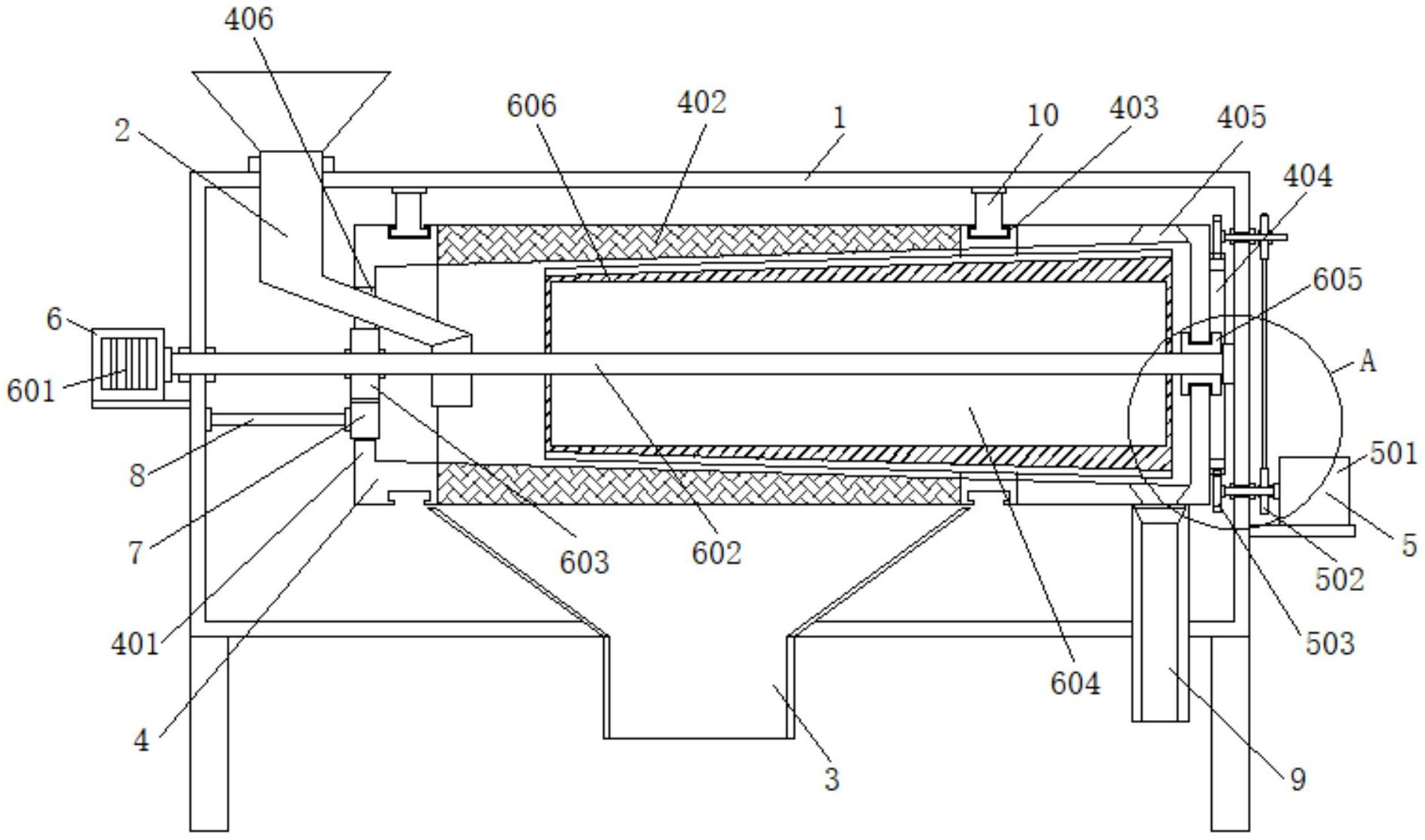
本实用新型涉及糙米开糙和碾白技术领域,且公开了一种具有旋筛装置的糙米开糙和碾白装置,包括开糙箱,所述开糙箱的内部转动连接有旋筛组件,所述开糙箱一侧的底端设置有驱动组件,所述旋筛组件的内部设置有碾压组件,所述碾压组件底部的一侧设置有挡块,且挡块呈弧形结构。该实用新型通过利用支撑杆直接将挡块固定在开糙箱内部的一侧,并挡块位于限位环的下方和滚筒左侧插孔内部的底端位置处,使挡块和限位块一起遮挡处插孔内部的一般空间,当滚筒受驱动组件的转力影响转动时,滚筒左侧的插孔始终在挡块的外侧滚动,并利用挡块对避免了导入滚筒内部的糙米经过插孔从其左侧向外飞溅,使进行糙米开糙和碾白处理的糙米原料含量提高。


