授权公布号:CN213838261U
一种便于操作的谷物仓仓门
有效
申请
2020-11-27
申请公布
1970-01-01
授权
2021-07-30
预估到期
2030-11-27
| 申请号 | CN202022800168.4 |
| 申请日 | 2020-11-27 |
| 授权公布号 | CN213838261U |
| 授权公告日 | 2021-07-30 |
| 分类号 | E06B3/36;E06B5/00;E05F15/63 |
| 分类 | 一般门、窗、百叶窗或卷辊遮帘;梯子; |
| 申请人名称 | 湖北碧山机械股份有限公司 |
| 申请人地址 | 湖北省孝感市安陆市碧山路89号 |
专利法律状态
2021-07-30
授权
状态信息
授权
摘要
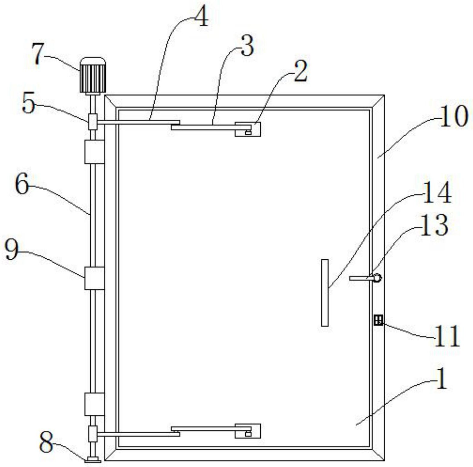
本实用新型公开了一种便于操作的谷物仓仓门,包括门板、夹板和转臂二,所述门板上方设置有所述夹板,所述夹板上方设置有转臂一,所述转臂一上方设置有所述转臂二,所述转臂二一侧设置有套管,所述套管中部贯穿有转轴,所述转轴上方设置有电机一,所述夹板与所述门板通过螺钉连接,所述转臂一与所述夹板插接,所述转臂二与所述转臂一转动连接,所述套管与所述转臂二焊接,所述转轴与所述套管插接,所述电机一与所述转轴通过键连接。有益效果在于:本实用新型通过设置夹板、转臂一、转臂二、套管、转轴和电机一,能够对仓门进行电动转动开启,避免手动开启较重造成仓门开启困难,提高了谷物仓仓门使用的效率。


