授权公布号:CN213762847U
一种具有调节功能的谷物仓用谷物分级装置
有效
申请
2020-11-27
申请公布
1970-01-01
授权
2021-07-23
预估到期
2030-11-27
| 申请号 | CN202022800220.6 |
| 申请日 | 2020-11-27 |
| 授权公布号 | CN213762847U |
| 授权公告日 | 2021-07-23 |
| 分类号 | B07B7/01;B07B11/06;B07B11/08;B01D46/10 |
| 分类 | 将固体从固体中分离;分选; |
| 申请人名称 | 湖北碧山机械股份有限公司 |
| 申请人地址 | 湖北省孝感市安陆市碧山路89号 |
专利法律状态
2021-07-23
授权
状态信息
授权
摘要
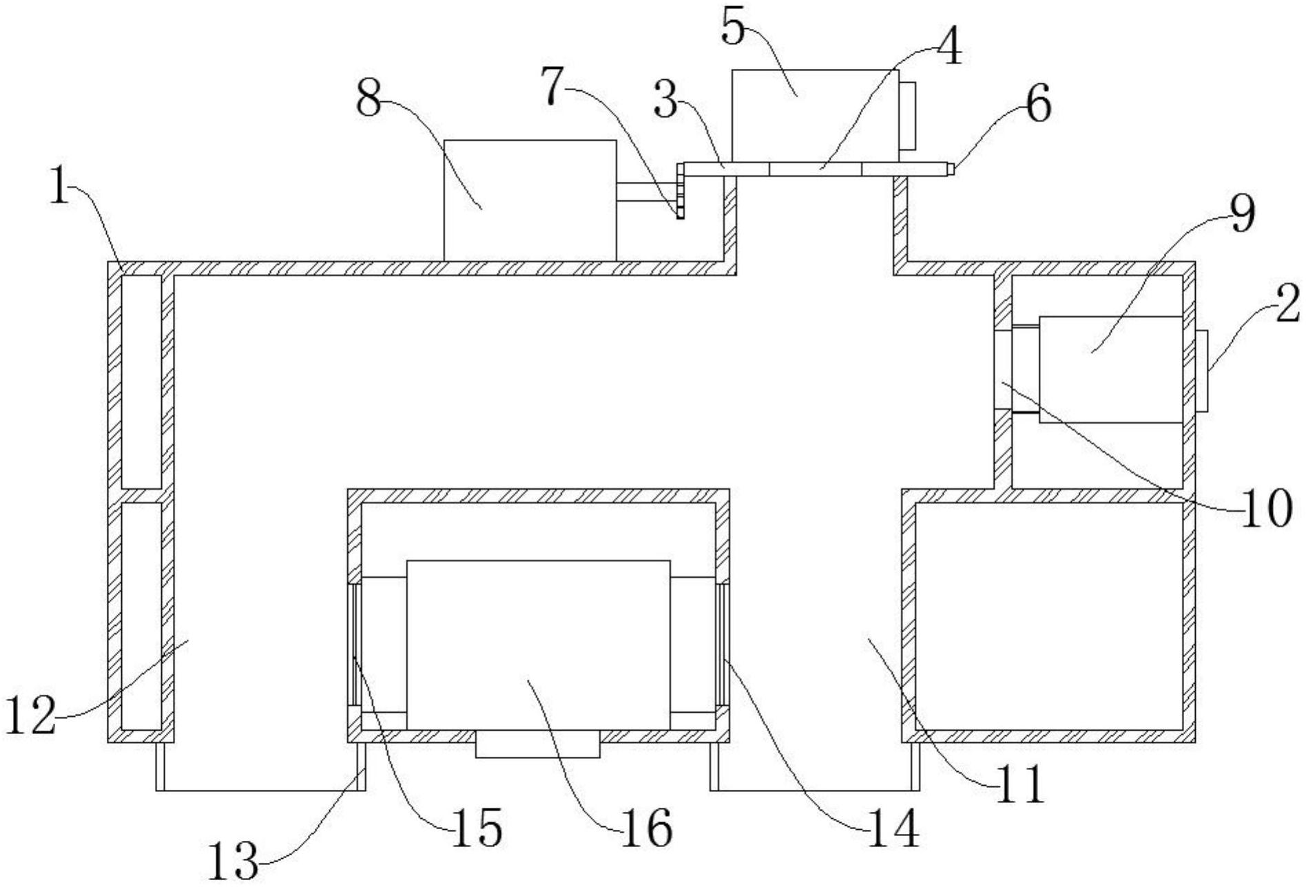
本实用新型公开了一种具有调节功能的谷物仓用谷物分级装置,包括机体、安装板和下料通道一,所述机体一侧设置有操作面板,所述机体顶部一侧设置有所述安装板。有益效果在于:本实用新型通过设置安装板、从动齿轮、转动齿轮和电机,能够将抽料机固定在安装板上,并通过电机带动转动齿轮进行转动,从而通过从动齿轮使安装板进行转动,调整分级装置上吸取管的位置,无需工作人员聚拢谷物,从而降低工作人员的工作强度,通过设置吸取口、过滤网和吸尘机,能够使吸尘机通过吸取口吸取谷物中的灰尘,防止灰尘跟随谷物进入谷物仓而滋生细菌,进而能够保证谷物的存放时间,同时过滤网能够防止吸尘机吸取谷物。


