授权公布号:CN219464012U
一种大米加工用吸式比重分级去石机
有效
申请
2023-03-23
申请公布
1970-01-01
授权
2023-08-04
预估到期
2033-03-23
| 申请号 | CN202320586241.3 |
| 申请日 | 2023-03-23 |
| 授权公布号 | CN219464012U |
| 授权公告日 | 2023-08-04 |
| 分类号 | B07B1/28;B07B1/42;B07B1/46 |
| 分类 | 将固体从固体中分离;分选; |
| 申请人名称 | 湖北碧山机械股份有限公司 |
| 申请人地址 | 湖北省孝感市安陆市碧山路89号 |
专利法律状态
2023-08-04
授权
状态信息
授权
摘要
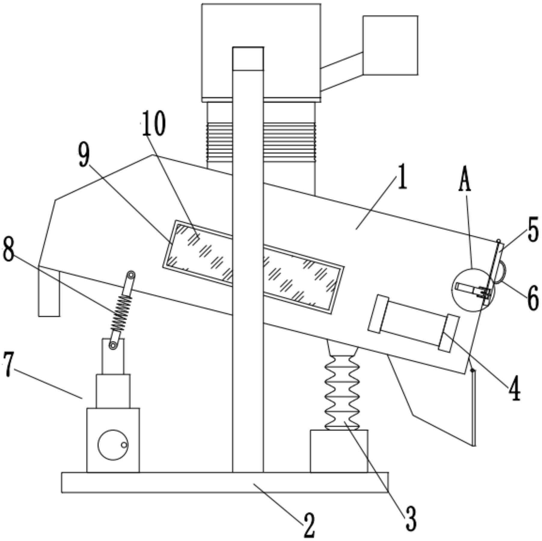
本实用新型公开了一种大米加工用吸式比重分级去石机,包括筛箱,筛箱的一侧外壁通过合页连接有密封板,密封板的一侧外壁通过螺栓连接有把手,密封板的外壁焊接有挂钩,筛箱的外壁焊接有固定板,固定板的外部铰接有旋转板,旋转板的一端铰接有挂环,挂环与挂钩相适配。本实用新型通过设置的旋转板、挂环和挂钩,对旋转板进行转动,使得挂环与挂钩分离,此时即可方便的将密封板进行打开,使得筛箱内部的筛面堵塞时便于对筛箱进行打开清理。


