授权公布号:CN209481896U
空气捻接机水雾喷射装置
有效
申请
2018-12-17
申请公布
1970-01-01
授权
2019-10-11
预估到期
2028-12-17
| 申请号 | CN201822109343.8 |
| 申请日 | 2018-12-17 |
| 授权公布号 | CN209481896U |
| 授权公告日 | 2019-10-11 |
| 分类号 | D01H15/00 |
| 分类 | 天然或人造的线或纤维;纺纱或纺丝; |
| 申请人名称 | 江苏罗曼罗兰集团有限公司 |
| 申请人地址 | 江苏省泰州市姜堰区姜堰经济开发区陈庄路588号 |
专利法律状态
2019-10-11
授权
状态信息
授权
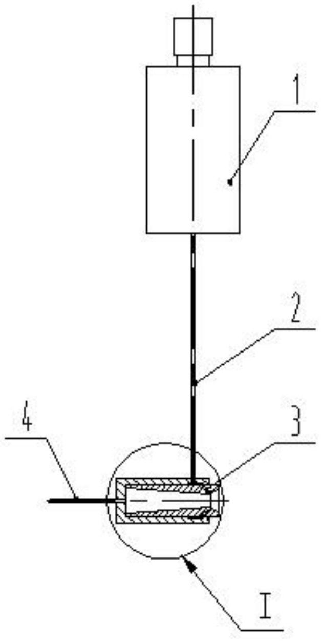
摘要
本实用新型公开了一种空气捻接机水雾喷射装置,包括储水装置、输水管、输气管、喷头;喷头包括外套、内套;内套中心轴线平置,设有通孔,通孔的右端扩口到内套右端面,形成右端喇叭孔;外套中心轴线平置,设有左端封闭的盲孔,盲孔内壁设有环槽;外套套装在内套左端,将内套通孔的左端封闭;储水装置设置在喷头上方,输水管上端连通到储水装置下端;输水管下端与外套环槽相通;输气管贯穿外套左端,与内套通孔相通;内套侧壁上设有若干个喷水孔;喷水孔左端与外套环槽相通,右端与内套右端喇叭孔相通;进一步改进在于:内套右端喇叭孔左端的孔为左大右小的锥孔。本实用新型能形成较好的水雾,使用时显著提高形成结头的条干物理指标。


