授权公布号:CN103710880B
一种抗氧化聚苯硫醚纺粘水刺非织造滤材及其生产方法
有效
申请
2013-12-17
申请公布
2014-04-09
授权
2016-08-17
预估到期
2033-12-17
| 申请号 | CN201310698508.9 |
| 申请日 | 2013-12-17 |
| 申请公布号 | CN103710880A |
| 申请公布日 | 2014-04-09 |
| 授权公布号 | CN103710880B |
| 授权公告日 | 2016-08-17 |
| 分类号 | D04H1/4382;D04H1/46;D04H1/492 |
| 分类 | 编织;花边制作;针织;饰带;非织造布; |
| 申请人名称 | 广东宝泓新材料股份有限公司 |
| 申请人地址 | 广东省佛山市南海区狮山科技工业园C区骏业南路5号 |
专利法律状态
2018-08-10
专利权人的姓名或者名称、地址的变更
状态信息
专利权人的姓名或者名称、地址的变更IPC(主分类):D04H 1/4382变更前 专利权人:广东斯乐普环保技术股份有限公司 地址:528225 广东省佛山市南海区狮山科技工业园C区骏业南路5号变更后 专利权人:广东宝泓新材料股份有限公司 地址:528225 广东省佛山市南海区狮山科技工业园C区骏业南路5号
2016-10-26
专利权人的姓名或者名称、地址的变更
状态信息
专利权人的姓名或者名称、地址的变更IPC(主分类):D04H 1/4382变更事项:专利权人变更前:佛山市斯乐普特种材料有限公司变更后:广东斯乐普环保技术股份有限公司变更事项:地址变更前:528225 广东省佛山市南海区狮山科技工业园C区骏业南路5号变更后:528225 广东省佛山市南海区狮山科技工业园C区骏业南路5号
2016-08-17
授权
状态信息
授权
2014-05-07
实质审查的生效
状态信息
实质审查的生效IPC(主分类):D04H 1/4382申请日:20131217
2014-04-09
公布
状态信息
公开
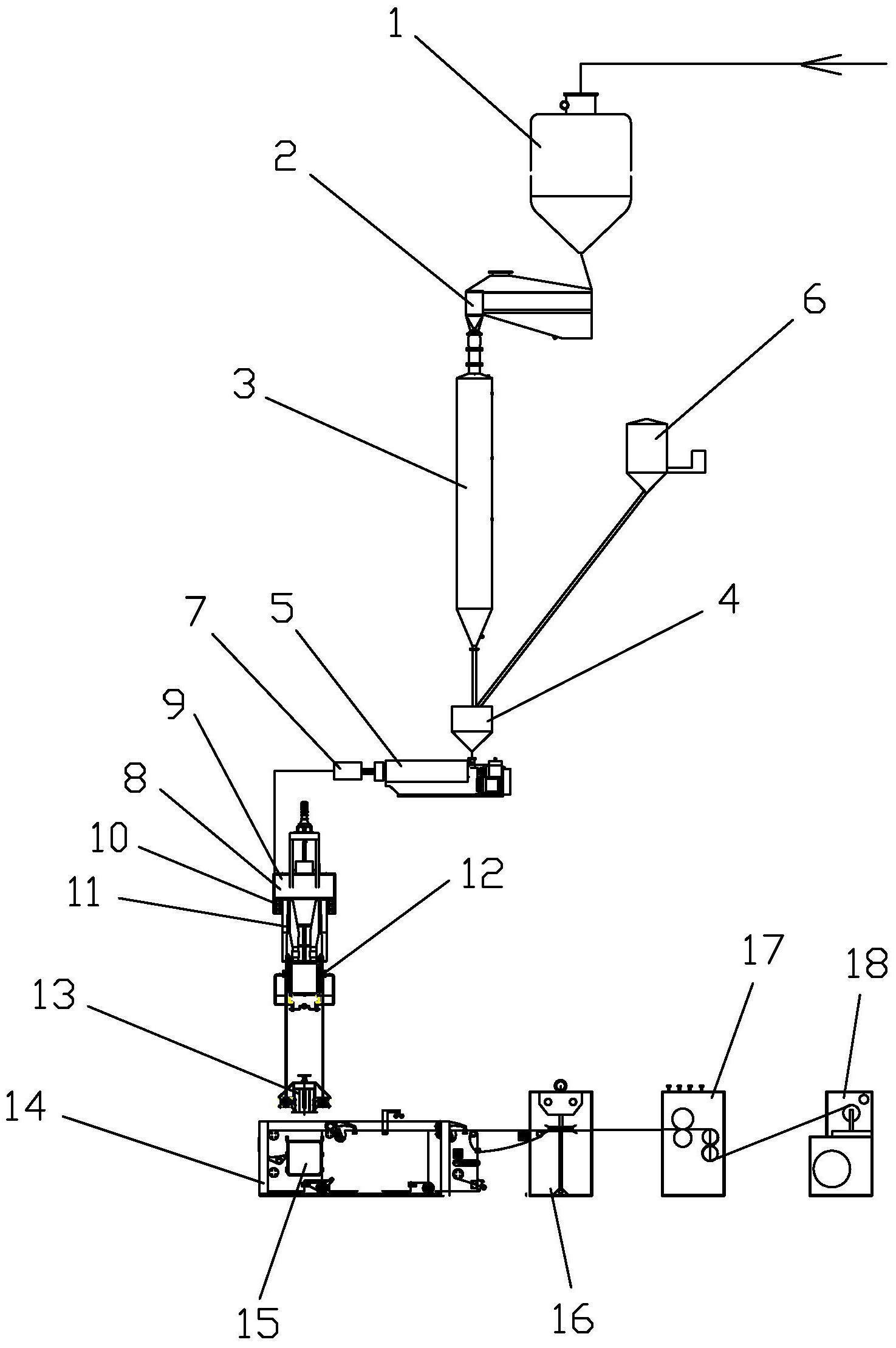
摘要
本发明所述的一种抗氧化聚苯硫醚纺粘水刺非织造滤材及其生产方法。即在聚苯硫醚熔融过程中加入一定量的抗氧化母粒,由于抗氧化母粒的加上,聚苯硫醚的在高温有氧的情况下仍然保持良好的力学性能,产品使用寿命大大延长,可满足燃煤电厂高温尾气除尘工况要求。此外,在非织造布的后加固过程中,本发明采用的是纺粘+水刺技术,即首先纺粘纤网通过简单的预针刺获得一定的力学性能,接着纤维在高压水针水刺过程中进一步缠结,密度增加,纤网变成了具有良好力学性能的非织造布过滤材料。在水刺过程中纤维的损伤小,而缠结度高,这有力地保证了产品力学性能和过滤性能。


