授权公布号:CN217979671U
一种防止热变形的水刺无纺布烘干装置
有效
申请
2022-02-24
申请公布
1970-01-01
授权
2022-12-06
预估到期
2032-02-24
| 申请号 | CN202220428074.5 |
| 申请日 | 2022-02-24 |
| 授权公布号 | CN217979671U |
| 授权公告日 | 2022-12-06 |
| 分类号 | F26B13/28;F26B13/14;F26B21/00;F26B25/00;F26B25/02;F16N11/00 |
| 分类 | 干燥; |
| 申请人名称 | 安徽金春无纺布股份有限公司 |
| 申请人地址 | 安徽省滁州市南京北路218号 |
专利法律状态
2022-12-06
授权
状态信息
授权
摘要
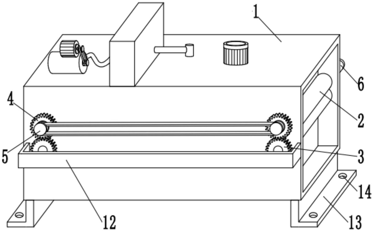
本实用新型提供一种结构设计新颖的防止热变形的水刺无纺布烘干装置,包括壳体,壳体的两侧内壁之间通过轴承连接有两个牵引辊,两个牵引辊的连接轴一端延伸至壳体的外部焊接有牵引齿轮,两个牵引齿轮相互啮合,壳体的两侧内壁之间通过轴承连接有两个挤压辊,两个挤压辊的连接轴一端延伸至壳体的外部焊接有挤压齿轮,两个挤压齿轮相互啮合,其中一个挤压齿轮和牵引齿轮的的一侧外壁均通过螺栓连接有同步带轮。本实用新型利用牵引辊柱和挤压辊柱对水刺无纺布在进行烘干时均起到牵引传送的作用,使得牵引辊柱和挤压辊柱之间的水刺无纺布的表面不会因受力不均匀出现褶皱,进而实现了防止水刺无纺布热变形的效果。


