授权公布号:CN219752681U
一种水刺无纺布生产用染色装置
有效
申请
2022-09-22
申请公布
1970-01-01
授权
2023-09-26
预估到期
2032-09-22
| 申请号 | CN202222504393.2 |
| 申请日 | 2022-09-22 |
| 授权公布号 | CN219752681U |
| 授权公告日 | 2023-09-26 |
| 分类号 | D06B1/02;D06B23/04;D06B23/20;D06B23/00 |
| 分类 | 织物等的处理;洗涤;其他类不包括的柔性材料; |
| 申请人名称 | 安徽金春无纺布股份有限公司 |
| 申请人地址 | 安徽省滁州市南京北路218号 |
专利法律状态
2023-09-26
授权
状态信息
授权
摘要
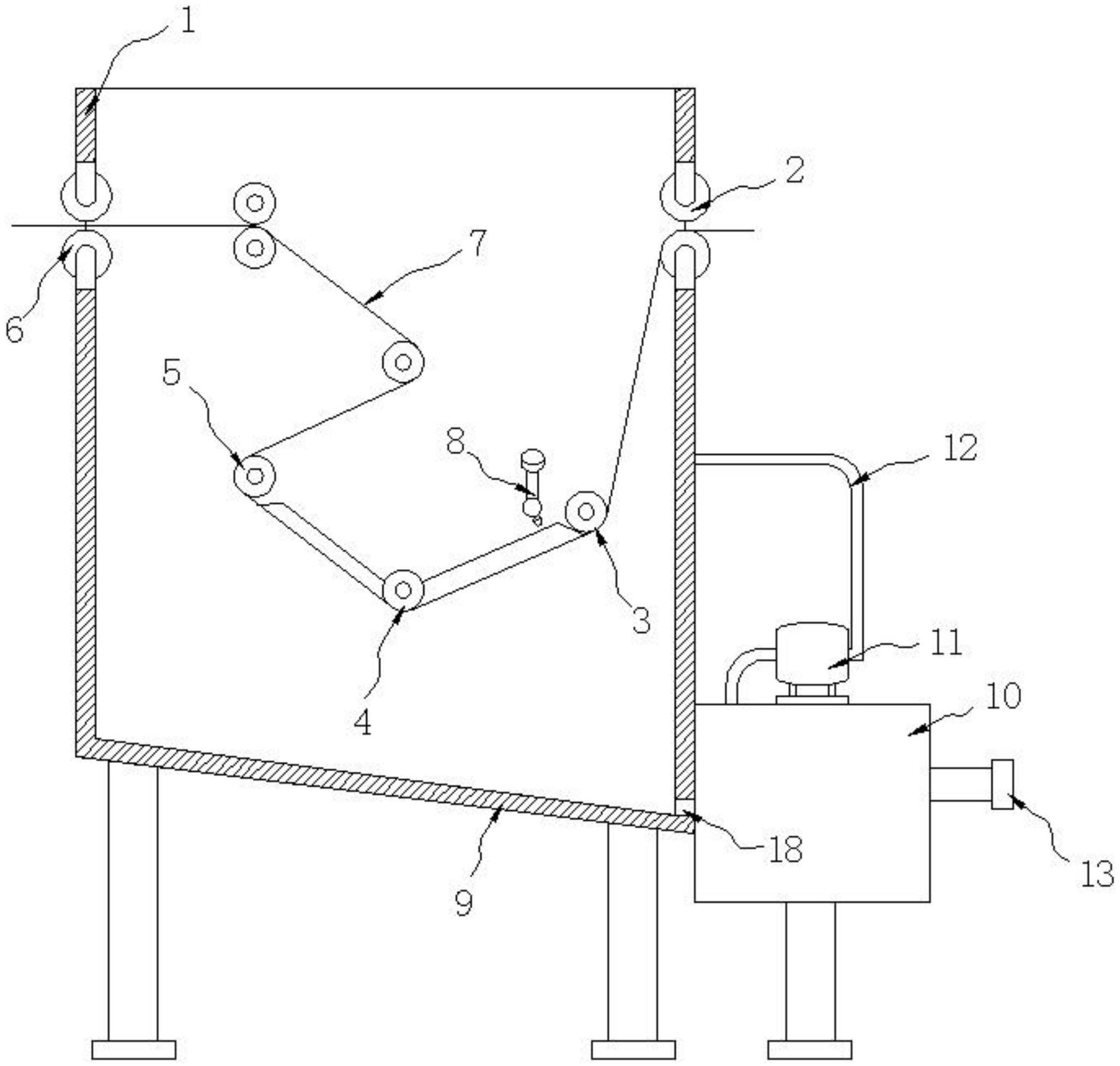
本实用新型提供一种水刺无纺布生产用染色装置,包括染色装置本体,所述染色装置本体包括染色桶、限位导辊、喷管和染料箱,所述染色桶的一侧安装有进料导辊,所述进料导辊通过布料与牵引导辊连接,所述牵引导辊的一侧安装有限位导辊,所述限位导辊的表面套设有卡环,所述卡环的两侧安装有挡杆,所述限位导辊的一侧安装有挤压导辊,所述挤压导辊的一侧设置有出料导辊,所述染色桶的底端设置有底板,所述底板的一侧开设有排料口,所述排料口的外侧安装有染料箱,该水刺无纺布生产用染色装置能够快速对表面进行染色,并促进渗透到内部,能避免同一种染料产生的色差,染色区域可控。


