授权公布号:CN216304061U
一种热风无纺布自动抓料开松输送系统
有效
申请
2018-12-21
申请公布
1970-01-01
授权
2022-04-15
预估到期
2028-12-21
| 申请号 | CN201822156970.7 |
| 申请日 | 2018-12-21 |
| 授权公布号 | CN216304061U |
| 授权公告日 | 2022-04-15 |
| 分类号 | D01G23/00 |
| 分类 | 天然或人造的线或纤维;纺纱或纺丝; |
| 申请人名称 | 安徽金春无纺布股份有限公司 |
| 申请人地址 | 安徽省滁州市南京北路218号 |
专利法律状态
2022-04-15
授权
状态信息
授权
摘要
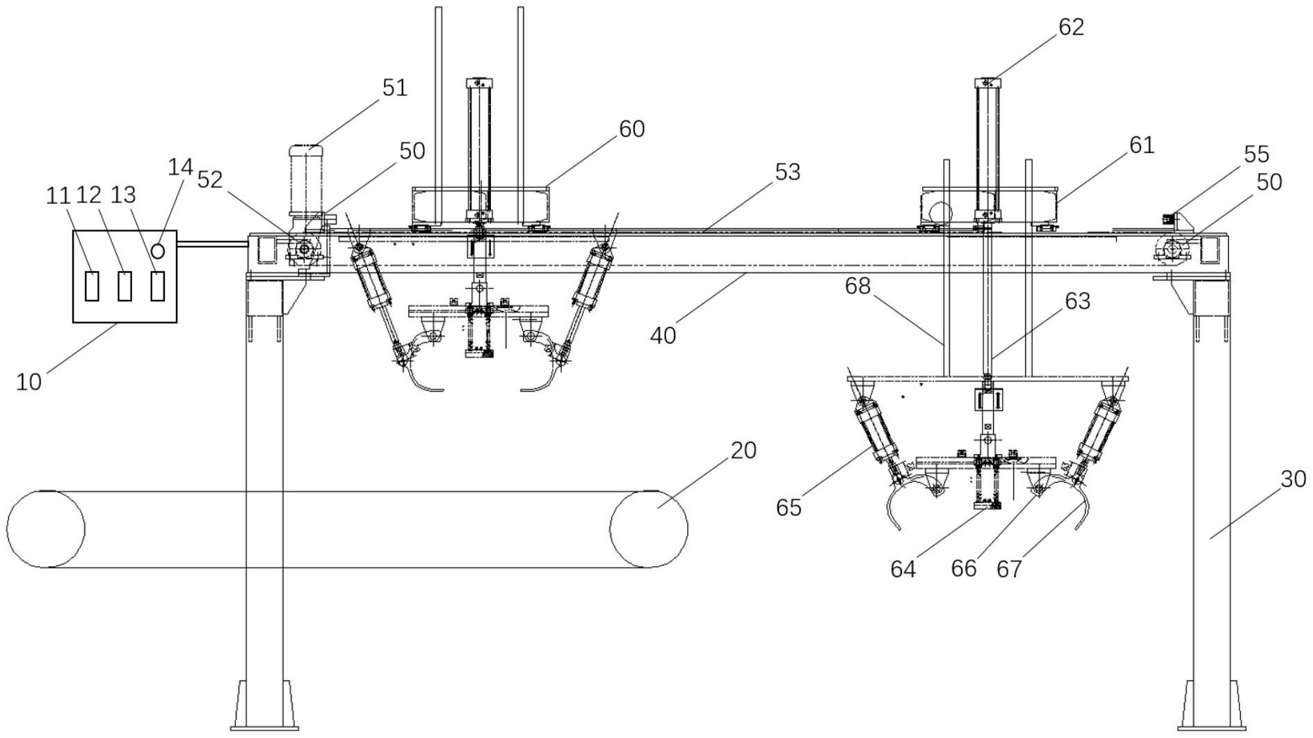
本实用新型涉及一种热风无纺布自动抓料开松输送系统,包括控制装置、传输带、脚架、横梁、传输模块和抓料模块。本实用新型的自动抓料开松输送系统,可代替人工将纤维抓起并移动到输送平台,并模仿手工将纤维抖落在输送平台上,该系统能够自动识别纤维高度,自动将纤维抓起并移动到预开松机输送平台,同时模仿手工将纤维抖落在预开松机输送平台上,开松效果理想,减轻工人劳动强度,实现智能化操作。


