授权公布号:CN113403763B
一种水刺无纺布加工用杀菌消毒一体化装置
有效
申请
2021-07-02
申请公布
2021-09-17
授权
2023-02-03
预估到期
2041-07-02
| 申请号 | CN202110750589.7 |
| 申请日 | 2021-07-02 |
| 申请公布号 | CN113403763A |
| 申请公布日 | 2021-09-17 |
| 授权公布号 | CN113403763B |
| 授权公告日 | 2023-02-03 |
| 分类号 | D06B1/02;D06B23/02;A61L2/18;A61L2/26 |
| 分类 | 织物等的处理;洗涤;其他类不包括的柔性材料; |
| 申请人名称 | 安徽金春无纺布股份有限公司 |
| 申请人地址 | 安徽省滁州市南京北路218号 |
专利法律状态
2023-02-03
授权
状态信息
授权
2021-09-17
公布
状态信息
公布
摘要
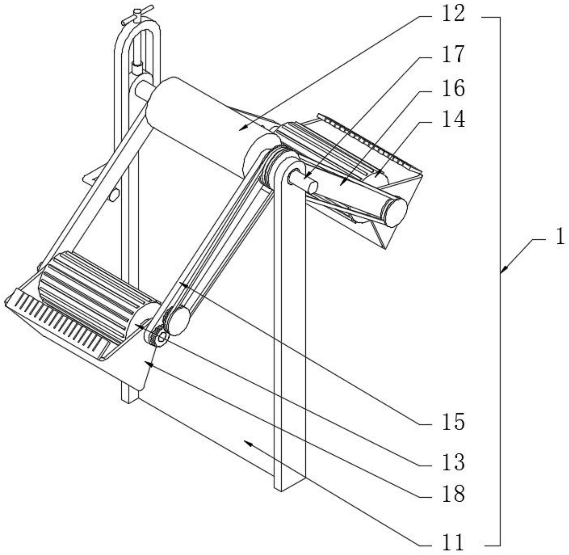
本发明公开了一种水刺无纺布加工用杀菌消毒一体化装置,包括抛射部,所述抛射部包括立隔板、中托辊、左辊筒、右辊筒、左连接臂、右连接臂和驱动轴。本发明中,抛射部设置在杀菌消毒箱内,抛射部上设置立隔板,立隔板将杀菌消毒箱分隔成杀菌消毒腔和清洗腔,抛射部上设置中托辊、左辊筒和右辊筒,中托辊位于立隔板的顶部,左辊筒位于杀菌消毒腔内,右托辊位于清洗腔内,在使用时水刺无纺布为水平分布并和中托辊接触,左辊筒和右辊筒分别和杀菌消毒腔和清洗腔内的液体接触,由此其旋转可以抛射液体,抛射的液体不仅可以浸湿无纺布而且还具有托举无纺布的功能,进而可以避免水刺无纺布变形的情况出现。


