授权公布号:CN214803448U
一种带酒柜的橱柜
有效
申请
2020-12-28
申请公布
1970-01-01
授权
2021-11-23
预估到期
2030-12-28
| 申请号 | CN202023213103.6 |
| 申请日 | 2020-12-28 |
| 授权公布号 | CN214803448U |
| 授权公告日 | 2021-11-23 |
| 分类号 | A47B69/00;A47B77/00;A47B97/00 |
| 分类 | 家具;家庭用的物品或设备;咖啡磨;香料磨;一般吸尘器; |
| 申请人名称 | 深圳市斯沃德厨柜有限公司 |
| 申请人地址 | 广东省深圳市龙岗区平湖街道辅城坳社区新工业区A10号A栋101-401 |
专利法律状态
2021-11-23
授权
状态信息
授权
摘要
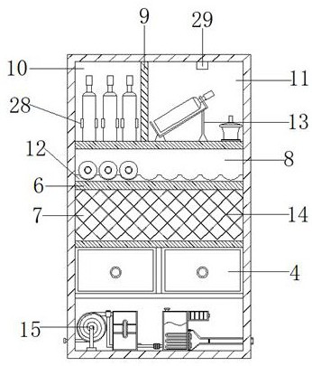
本实用新型公开了一种带酒柜的橱柜,包括橱柜本体,所述橱柜本体的一侧安装有柜体,所述柜体的一侧外壁依次铰接有第一柜门、安装有抽屉和铰接有第二柜门,位于所述第一柜门的柜体内部焊接有三块隔板和一块挡板,三块隔板和一块挡板将第一柜门处的柜体内部分隔有存放区、展示区、第一展览区和第二展览区,位于第二柜门的柜体内部安装有恒温装置。本实用新型通过恒温装置、风机、电动三通阀、导管、加热箱、加热管、水箱、干燥盒、单向阀、温度传感器和控制器实现控制器根据温度传感器得知柜体内部的温度,控制电动三通阀调节风机的风吹往加热箱或水箱,相比于传统方式,由于控制柜体内部的温度,有利于更好的保存酒。


