授权公布号:CN214659396U
一种嵌入式门拉手
有效
申请
2020-12-29
申请公布
1970-01-01
授权
2021-11-09
预估到期
2030-12-29
| 申请号 | CN202023232683.3 |
| 申请日 | 2020-12-29 |
| 授权公布号 | CN214659396U |
| 授权公告日 | 2021-11-09 |
| 分类号 | E05B5/00 |
| 分类 | 锁;钥匙;门窗零件;保险箱; |
| 申请人名称 | 深圳市斯沃德厨柜有限公司 |
| 申请人地址 | 广东省深圳市龙岗区平湖街道辅城坳社区新工业区A10号A栋101-401 |
专利法律状态
2021-11-09
授权
状态信息
授权
摘要
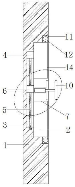
本实用新型公开了一种嵌入式门拉手,包括门板,所述门板一侧外壁开有凹槽,且凹槽一侧内壁开有滑槽,所述滑槽一侧内壁顶部安装有马达,且马达输出轴通过联轴器连接有丝杆一端,所述丝杆另一端通过轴承与滑槽底部内壁相连接,且丝杆上螺接有滑块,所述滑块远离滑槽一侧外壁焊接有安装块,且安装块远离滑块一侧外壁开有嵌入槽,所述嵌入槽一侧内壁开有安装槽。本实用新型可启动马达带动丝杆进行正转或反转,对门拉手的高度位置进行调节,方便适用不同身高的人,门拉手在使用时只需轻轻按压,在反弹器的作用下就可自动从嵌入槽内弹出,方便人们将门板拉开,不伤手,不使用时再将门拉手向内按压一次,就可嵌入在嵌入槽内,节省空间。


