授权公布号:CN214092629U
一种不锈钢新型卡扣
有效
申请
2020-12-28
申请公布
1970-01-01
授权
2021-08-31
预估到期
2030-12-28
| 申请号 | CN202023213148.3 |
| 申请日 | 2020-12-28 |
| 授权公布号 | CN214092629U |
| 授权公告日 | 2021-08-31 |
| 分类号 | F16B12/10;F16F15/067 |
| 分类 | 工程元件或部件;为产生和保持机器或设备的有效运行的一般措施;一般绝热; |
| 申请人名称 | 深圳市斯沃德厨柜有限公司 |
| 申请人地址 | 广东省深圳市龙岗区平湖街道辅城坳社区新工业区A10号A栋101-401 |
专利法律状态
2021-08-31
授权
状态信息
授权
摘要
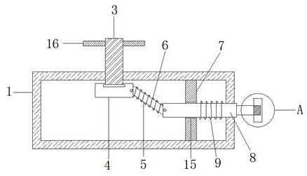
本实用新型公开了一种不锈钢新型卡扣,包括第一支架和第二支架,所述第一支架和第二支架均为中空结构,所述第一支架的顶部内壁螺接有调节螺杆,且调节螺杆的底端外壁通过轴承连接有连接块,所述连接块的一侧铰接有倾斜设置的铰接杆,且铰接杆上套设有第一阻尼缓冲簧,所述第一支架的顶部内壁和底部内壁焊接有同一个固定条,且固定条上插设有插杆,所述插杆上套设有第二阻尼缓冲簧,且插杆的一端外壁焊接有卡扣柱。本实用新型能够让购物者在家里安装起来省时省力,有利于商家的销售,能够方便对圆盘状卡扣的安装和拆卸,并且通过第一阻尼缓冲簧和第二阻尼缓冲簧弹力的作用,能够提高安装完成后的缓冲性能,进而提高稳定性和牢固性。


