授权公布号:CN217975132U
一种7字形背向光影型材
有效
申请
2021-07-30
申请公布
1970-01-01
授权
2022-12-06
预估到期
2031-07-30
| 申请号 | CN202121776967.0 |
| 申请日 | 2021-07-30 |
| 授权公布号 | CN217975132U |
| 授权公告日 | 2022-12-06 |
| 分类号 | E04F13/072;E04F13/074;E04F13/21 |
| 分类 | 建筑物; |
| 申请人名称 | 浙江艾格新材料科技有限公司 |
| 申请人地址 | 浙江省嘉兴市海盐县秦山街道工业区庆丰南一路 |
专利法律状态
2022-12-06
授权
状态信息
授权
摘要
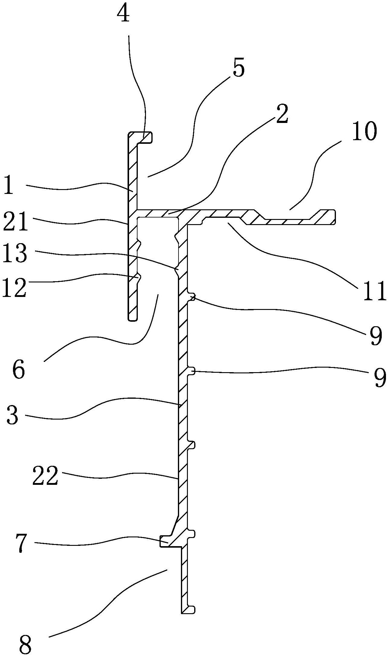
本实用新型提供了一种7字形背向光影型材,属于装修型材技术领域。本7字形背向光影型材,包括型材本体,型材本体包括板部一、板部二和板部三,板部二垂直连接在板部一的右壁面上,板部一的顶端具有向右翻折的槽条一,板部二与槽条一间隔设置且形成连接槽一,板部三垂直连接在板部二的底面,板部三与板部一的下端间隔设置且形成朝下敞口的灯槽,板部三的左壁面具有向左凸出的槽条二,槽条二与板部三的底端具有间距,且槽条二与板部三形成连接槽二。它能在墙壁上制造出凹凸造型,同时具有光影效果,安装方便,且装饰效果好。


